Запчасти Case 650L (55.100.04[03]) - HARNESS, MAIN ROPS, FUSES (55) - ELECTRICAL SYSTEMS

Схема запчастей Case 650L - (55.100.04[03]) - HARNESS, MAIN ROPS, FUSES (55) - ELECTRICAL SYSTEMS
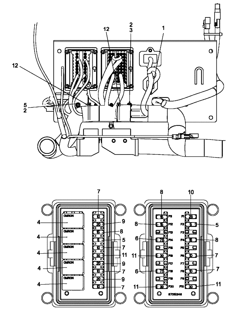
2
10
8
5
4
4
8
7
6
1
12
9
7
4
11
4
7
11
2
11
6
3
11
8
9
5
12
7
4
5
7
9
8
7
FIT
1:1
100%

Артикул

Название

Примечание

Количество

1

824-1404

NUT,M4, Cl 5

2шт.

2

86588450

WASHER,6.6mm ID x 12mm OD x 1.6mm Thk

2шт.

3

86639241

NUT,Prev Torque, M5 x 0.8, Cl 8

2шт.

4

87655334

RELAY,12V, 35A, Micro

35A

5шт.

5

121410A1

FUSE,5A, Mini, Tan

2шт.

6

121411A1

FUSE,7.5A, Mini, Brown

2шт.

7

121412A1

FUSE,10A, Mini, Red

6шт.

8

121413A1

FUSE,15A, Mini, Blue

4шт.

9

121414A1

FUSE,20A, Mini, Yellow

3шт.

10

121415A1

FUSE,25A, Mini, Clear

1шт.

11

121416A1

FUSE,30A, Mini, Green

4шт.

12

L11541

CABLE TIE,203.2mm L, Nylon

CABLE STRAP

2шт.

Выбрано товаров: 12