Запчасти Case 650L (90.118.04) - CANOPY, ROPS - SCREENS (90) - PLATFORM, CAB, BODYWORK AND DECALS

Схема запчастей Case 650L - (90.118.04) - CANOPY, ROPS - SCREENS (90) - PLATFORM, CAB, BODYWORK AND DECALS
5
18
3
6
3
2
14
12
11
4
13
4
10
8
6
2
7
15
7
4
6
1
5
5
5
9
5
6
6
2
5
12
3
6
FIT
1:1
100%

Артикул

Название

Примечание

Количество

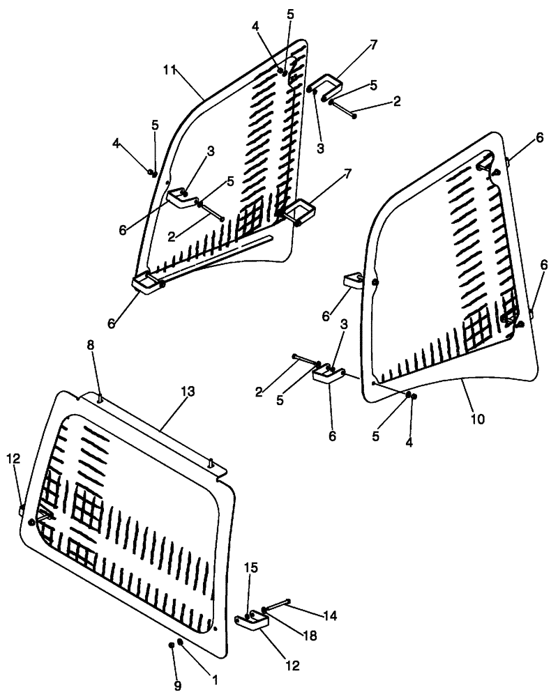
1

895-15010

WASHER,11mm ID x 24mm OD x 2mm Thk

4шт.

2

86508573

BOLT,Hex, M10 x 110mm, Cl 8.8

8шт.

3

829-4410

THIN NUT,Thin, M10 x 1.5, Cl 05

8шт.

4

412141

NUT,M10 x 1.5, Cl 8

8шт.

5

895-15010

WASHER,11mm ID x 24mm OD x 2mm Thk

16шт.

6

87426206

CLAMP

Side Screen

6шт.

7

87426207

CLAMP

Side Screen

2шт.

8

86511845

BOLT,M10 x 44.2mm OAL, Cl 8.8, Full Thd

2шт.

9

412141

NUT,M10 x 1.5, Cl 8

2шт.

10

87702996

ROPS

SCREEN, Right-Hand Side

1шт.

11

87703000

ROPS

SCREEN, Left-Hand Side

1шт.

12

87426206

CLAMP

2шт.

13

84136216

SCREEN

Rear

1шт.

14

86508573

BOLT,Hex, M10 x 110mm, Cl 8.8

2шт.

15

829-4410

THIN NUT,Thin, M10 x 1.5, Cl 05

2шт.

Выбрано товаров: 15