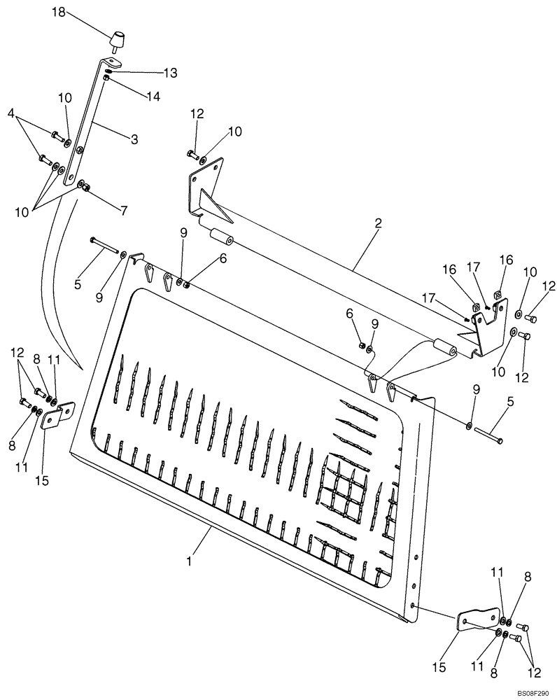
Запчасти Case 650L (90.118.05) - CAB - SCREEN, REAR (90) - PLATFORM, CAB, BODYWORK AND DECALS

Схема запчастей Case 650L - (90.118.05) - CAB - SCREEN, REAR (90) - PLATFORM, CAB, BODYWORK AND DECALS
10
12
14
8
11
9
12
1
10
7
2
11
11
10
8
15
16
9
6
18
10
8
17
9
12
11
13
10
5
9
12
16
4
12
15
6
17
8
5
3
FIT
1:1
100%

Артикул

Название

Примечание

Количество

1

87750131

SCREEN

Cab Rear

1шт.

2

84136214

SUPPORT

Rear Screen

1шт.

3

87543876

SUPPORT

Screen Prop

1шт.

4

614-10030

BOLT,Hex, M10 x 1.5 x 30mm, Cl 8.8, Full Thd

2шт.

5

814-8090

BOLT,Hex, M8 x 1.25 x 90mm, Cl 8.8

2шт.

6

832-10408

NUT,M8 x 1.25, Cl 8.8

2шт.

7

832-10410

NUT,M10 x 1.5, Cl 8

1шт.

8

892-11010

LOCK WASHER,M10

8шт.

9

895-15008

WASHER,9mm ID x 20mm OD x 1.6mm Thk

4шт.

10

895-15010

WASHER,11mm ID x 24mm OD x 2mm Thk

7шт.

11

895-15010

WASHER,11mm ID x 24mm OD x 2mm Thk

4шт.

12

614-10025

BOLT,Hex, M10 x 1.5 x 25mm, Cl 8.8

7шт.

13

495-11034

WASHER,5/16", SAE

1шт.

14

231-1445

NUT,5/16"-18, GB

1шт.

15

84190265

BRACKET

Cab Screen

2шт.

16

122958A1

SQUARE NUT

2шт.

17

336371A1

PIN,4.88mm OD x 14.23mm L

2шт.

18

87109195

BUMPER,5/16" - 18, 38mm OD

1шт.

Выбрано товаров: 18