Качественные детали и логистика
Оригинальные и аналоговые запчасти с доставкой по России, Казахстану и Беларуси
©2022 PartSell ООО "Система" ИНН 2463123282 ОГРН 1212400004838
Центральный офис: г. Красноярск, Академика Киренского, д.87, пом.4
Телефон: 8 (800) 777-65-74 Email: zakaz@partsell.ru
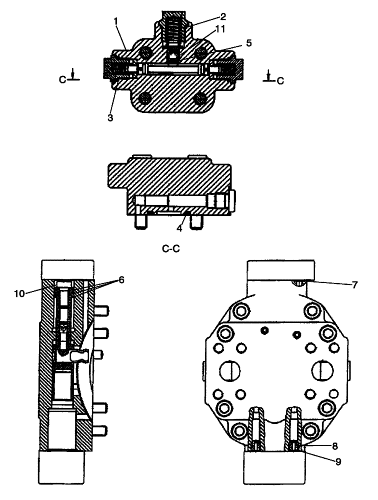
(29.212.02[02]) - HYDROSTATIC MOTOR
№
Артикул
Название
Примечание
Количество
1
87441434
VALVE
Flush And Boost Without Orifice
1шт.
2
87441440
SEAL
3
87441439
2шт.
4
87441437
5
87528596
ORIFICE RING
Retaining
6
87441447
RING
Square
3шт.
7
238-8011
O-RING,0.07" Thk x 0.301" ID, -11, Cl 8, 90 Duro
6шт.
8
87441438
9
87441445
10
864-12025
HEX SOC SCREW,M12 x 25mm, Cl 8.8
11
87528595
ORIFICE
Flushing
Выбрано товаров: 0