Запчасти Case 650L (29.212.04[02]) - TANDEM PUMP (29) - HYDROSTATIC DRIVE

Схема запчастей Case 650L - (29.212.04[02]) - TANDEM PUMP (29) - HYDROSTATIC DRIVE
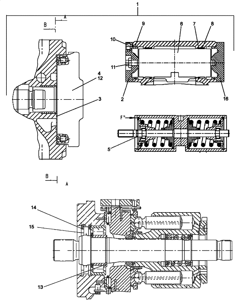
7
16
5
6
2
1
3
14
11
10
13
8
12
4
9
15
FIT
1:1
100%

Артикул

Название

Примечание

Количество

1

87627042

HYDRAULIC PUMP,56 CC

Tandem Pump, Inc. 2-16

1шт.

1

87627042R

REMAN-HYDROSTAT PUMP

650L TIER 3 (HYDRO) (2/09-)

1шт.

1

87627042C

CORE-HYDROSTAT PUMP

Return Number

1шт.

2

87758192

COVER

1шт.

3

87758210

PLATE

2шт.

4

87758209

PUMP

1шт.

5

238-6012

O-RING,0.07" Thk x 0.364" ID, -12, Cl 6, 90 Duro

5шт.

6

87758191

CONTROL UNIT

1шт.

7

87758196

SEAL KIT

2шт.

8

87758195

RING

2шт.

9

87758194

O-RING,64.77mm ID x 2.62mm Width

2шт.

10

864-8016

HEX SOC SCREW,M8 x 16mm, Cl 8.8

8шт.

11

87516843

NUT

1шт.

12

NSS

NOT SOLD SEPARAT

Pump

1шт.

13

87758187

RING

1шт.

14

87758188

RING

1шт.

15

87758189

RING

1шт.

16

87758193

COVER

1шт.

17

87758197

SEAL KIT

Hydraulic Control (Not Shown)

1шт.

18

87758211

SEAL KIT

Internal Gear Pump (Not Shown)

2шт.

19

87758190

SEAL KIT

Drive Shaft (Not Shown)

1шт.

Выбрано товаров: 21