Запчасти Case 500 (06-004) - RADIATOR, OIL COOLER No Description

Схема запчастей Case 500 - (06-004) - RADIATOR, OIL COOLER No Description
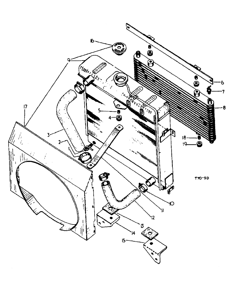
17
8
1
6
9
14
11
19
5
16
12
15
3
7
18
10
4
2
13
FIT
1:1
100%

Артикул

Название

Примечание

Количество

1

3042569R91

COLLAR CLAMP

CLIP worm drive, for 2 in. O.D. hose

1шт.

2

444735

PLUG,Sq Hd, 1/4"-18 NPTF

drain

1шт.

2

444736

PLUG,Sq Hd, 1/4"-18 NPTF

drain, optional

1шт.

3

3065233R1

RADIATOR HOSE,1.50" ID x 8.06", SAE 20R4 CLASS D1

Inlet

1шт.

4

3063674R1

GROMMET

radiator tie bar

1шт.

5

3063675R1

SPACER

radiator tie bar

1шт.

6

3065235R91

SPARE PART

SUPPORT CPTE., oil cooler

1шт.

181360

BOLT,Hex, 3/8" - 24 x 3/4", Gr 5

hex head, 3/8 UNF x 3/4

2шт.

103026

NUT,3/8"-24, G5

2шт.

103321

LOCK WASHER,3/8"

2шт.

7

112002H1

SPARE PART

VALVE VALVE drain, oil cooler

1шт.

7

3025498R91

VALVE

drain oil cooler, optional

1шт.

8

3065234R91

SPARE PART

COOLER oil, CPTE.

1шт.

103878

PLUG

drain, oil cooler

1шт.

9

3117068R92

SPARE PART

RADIATOR and COOLER, CPTE.

1шт.

181360

BOLT,Hex, 3/8" - 24 x 3/4", Gr 5

2шт.

179841

BOLT,Hex, 3/8" - 16 x 1 1/4", Gr 5

4шт.

3065234R91

SPARE PART

COOLER

1шт.

3063674R1

GROMMET

4шт.

103026

NUT,3/8"-24, G5

2шт.

3117069R92

SPARE PART

RADIATOR

1шт.

3063675R1

SPACER

4шт.

3065235R91

SPARE PART

SUPPORT

1шт.

103321

LOCK WASHER,3/8"

6шт.

510579-

WASHER

4шт.

9

3117069R92

SPARE PART

RADIATOR CPTE., w/cap 3064970R1, cowl 895762H2, and eight bolts 3067621R1

1шт.

231-1408

LOCK NUT,1/2"-13, GB

lock, 1/2

2шт.

395-11053

WASHER,0.53" ID x 1.06" OD x 0.1" Thk

plain, 17/32 x 1-1/16 x .095

2шт.

15041R1

CARRIAGE BOLT,Short Sq Nk, 1/2" - 13 x 1 1/2"

carriage, square, NK, 1/2 x 1-1/2

2шт.

10

705934R91

CLAMP

worm drive, for 1-3/4 O.D. hose

2шт.

11

895761H1

BAR

radiator tie

1шт.

181374

BOLT,Hex, 3/8" - 24 x 1 1/2", Gr 5

hex head, 3/8 UNF x 1-1/4

1шт.

3042926R91

NUT

lock, 3/8 UNF

1шт.

510579R1

WASHER

plain, 13/32 x 1-1/4 x 16 gallon

1шт.

12

3124480R1

RADIATOR HOSE,35.00 mm ID x 135.00 mm, SAE 20R4 CLASS SC or SAE 20R4 CLASS D1

Outlet

1шт.

13

110408H1

PAD

SPARE PART radiator support

2шт.

14

3060188R1

BRACKET

radiator support, L.H.

1шт.

179840

BOLT,Hex, 3/8" - 16 x 1 1/8", Gr 5

hex head, 3/8 x 1-1/2

2шт.

103321

LOCK WASHER,3/8"

2шт.

15

3060189R1

BRACKET

radiator support, R.H.

1шт.

179840

BOLT,Hex, 3/8" - 16 x 1 1/8", Gr 5

2шт.

103321

LOCK WASHER,3/8"

2шт.

16

3064970R91

COVER

filler

1шт.

17

895762H2

COWL

SHROUD fan

1шт.

3067621R1

SCREW

set, 1/4 UNF

8шт.

18

3063675R1

SPACER

4шт.

179841

BOLT,Hex, 3/8" - 16 x 1 1/4", Gr 5

4шт.

510579R1

WASHER

plain, 13/32 x 1-1/4 x 16 gallon

4шт.

103321

LOCK WASHER,3/8"

Supports to oil cooler

4шт.

19

3063674R1

GROMMET

supports to oil cooler

4шт.

3127795R1

SPARE PART

STRIP sealing, top, not illustrated

1шт.

3127797R1

STRIP

sealing, side top, not illustrated

2шт.

3127794R1

STRIP

sealing, side bottom, not illustrated

2шт.

3127796R1

STRIP

sealing, bottom, cooling package attachment, not illustrated

1шт.

Выбрано товаров: 54