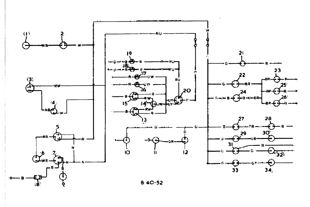
Запчасти Case 500 (08-002) - STARTING AND LIGHTING - UP TO PETROL AND L.P.G. No Description

Схема запчастей Case 500 - (08-002) - STARTING AND LIGHTING - UP TO PETROL AND L.P.G. No Description
18
20
1
28
8
23
22
11
34
33
31
29
12
13
2
3
4
24
7
27
17
5
10
9
32
21
14
16
15
26
19
25
6
30
FIT
1:1
100%

Артикул

Название

Примечание

Количество

1

3114410R1

HARNESS

ASSY. main code, cable colour black -b, blue - u, brown - n, green - g, pink - k, purple - p, red - r, slate -s, white -w, yellow - y, dark - d, light - l, medium - m, and orange - o

1шт.

NSS

NOT SOLD SEPARAT

DISTRIBUTOR, see engine petrol

1шт.

2

NSS

NOT SOLD SEPARAT

COIL, see engine petrol

1шт.

3

NSS

NOT SOLD SEPARAT

ALTERNATOR, see alternator, and connections

1шт.

4

NSS

NOT SOLD SEPARAT

LIGHT alternator warning, see gauges, and warning lights

1шт.

5

NSS

NOT SOLD SEPARAT

SWITCH key, see relays, switches, and fuses

1шт.

6

NSS

NOT SOLD SEPARAT

SWITCH safety start, see safety cut out switch

1шт.

7

NSS

NOT SOLD SEPARAT

SWITCH starter solenoid, see relays, switches, and fuses

1шт.

8

NSS

NOT SOLD SEPARAT

BATTERY

1шт.

9

NSS

NOT SOLD SEPARAT

STARTER MOTOR, see starter motor

1шт.

10

NSS

NOT SOLD SEPARAT

VALVE fuel, L.P.G. only

1шт.

11

NSS

NOT SOLD SEPARAT

VALVE vapourizing, L.P.G. only

1шт.

12

NSS

NOT SOLD SEPARAT

SWITCH priming, L.P.G. only, see relays, switches, and fuses

1шт.

13

NSS

NOT SOLD SEPARAT

LIGHT rear, L.H., see lighting attachment

1шт.

14

NSS

NOT SOLD SEPARAT

SWITCH rear, work light, see lighting attachment

1шт.

15

NSS

NOT SOLD SEPARAT

LIGHT rear, R.H., see lighting attachment

1шт.

16

NSS

NOT SOLD SEPARAT

LIGHT front work, see lighting attachment

1шт.

17

NSS

NOT SOLD SEPARAT

LIGHT front work, see lighting attachment

1шт.

18

NSS

NOT SOLD SEPARAT

LIGHT panel, see lighting attachment

1шт.

19

NSS

NOT SOLD SEPARAT

LIGHT panel, see lighting attachment

1шт.

20

NSS

NOT SOLD SEPARAT

SWITCH light, see lighting attachment

1шт.

21

NSS

NOT SOLD SEPARAT

METER hour, see gauges, and warning lights

1шт.

22

NSS

NOT SOLD SEPARAT

LIGHT trans., warning, see gauges, and warning lights

1шт.

23

NSS

NOT SOLD SEPARAT

SWITCH accelerator, see relays, switches, and fuses

1шт.

24

NSS

NOT SOLD SEPARAT

SWITCH valve, see transmission group 7

1шт.

25

NSS

NOT SOLD SEPARAT

SWITCH foot brake, see relays, switches, and fuses

1шт.

26

NSS

NOT SOLD SEPARAT

SWITCH hand brake, see relays, switches, and fuses

1шт.

27

NSS

NOT SOLD SEPARAT

HORN, see horn

1шт.

28

NSS

NOT SOLD SEPARAT

BUTTON horn, see relays, switches, and fuses

1шт.

29

NSS

NOT SOLD SEPARAT

LIGHT fuel, warning, see gauges, and warning lights

1шт.

30

NSS

NOT SOLD SEPARAT

TRANSMITTER fuel, warning light, see gauges, and warning lights

1шт.

31

NSS

NOT SOLD SEPARAT

INDICATOR heat, see gauges, and warning lights

1шт.

32

NSS

NOT SOLD SEPARAT

TRANSMITTER heat indicator, see gauges, and warning lights

1шт.

33

NSS

NOT SOLD SEPARAT

LIGHT oil warning, see gauges, and warning lights

1шт.

34

NSS

NOT SOLD SEPARAT

TRANSMITTER oil warning, see trans. oil temperature gauge

1шт.

3114411R1

CABLE

, Serial Range: battery-earth

1шт.

3114413R1

CABLE

battery to starter solenoid

1шт.

3043904R91

CABLE

solenoid to starter motor

1шт.

Выбрано товаров: 38