Запчасти Case 500 (08-010) - STARTING AND LIGHTING - UP TO DIESEL No Description

Схема запчастей Case 500 - (08-010) - STARTING AND LIGHTING - UP TO DIESEL No Description
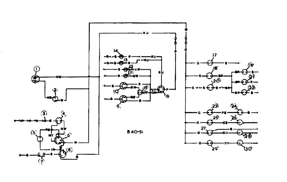
1
7
24
10
13
22
15
12
17
14
5
18
19
3
8
16
25
30
23
2
29
9
4
11
6
28
27
20
26
21
FIT
1:1
100%

Артикул

Название

Примечание

Количество

3114410R1

HARNESS

ASSY., main code cable colour black - b, blue - u, brown - n, green - g, pink - k, purple - p, red - r, slate - s, white - w, yellow - y, dark - d, light - l, medium - m, orange - o

1шт.

1

NSS

NOT SOLD SEPARAT

ALTERNATOR, see alternator, and connections

1шт.

2

NSS

NOT SOLD SEPARAT

LIGHT, alternator warning, see gauges, and warning lights

1шт.

3

NSS

NOT SOLD SEPARAT

GLOW-PLUG, see engine

4шт.

4

NSS

NOT SOLD SEPARAT

INDICATOR resistor, see engine

1шт.

5

NSS

NOT SOLD SEPARAT

SWITCH, safety starter, see safety cut out switch

1шт.

6

NSS

NOT SOLD SEPARAT

SWITCH key, see relays, switches, and fuses

1шт.

7

NSS

NOT SOLD SEPARAT

BATTERY

1шт.

8

NSS

NOT SOLD SEPARAT

STARTER MOTOR, see starter motor

1шт.

9

NSS

NOT SOLD SEPARAT

LIGHT rear, L.H., see lighting attachment

1шт.

10

NSS

NOT SOLD SEPARAT

LIGHT rear, R.H., see lighting attachment

1шт.

11

NSS

NOT SOLD SEPARAT

LIGHT front work, see lighting attachment

1шт.

12

NSS

NOT SOLD SEPARAT

LIGHT front work, see lighting attachment

1шт.

13

NSS

NOT SOLD SEPARAT

LIGHT panel, see lighting attachments

1шт.

14

NSS

NOT SOLD SEPARAT

LIGHT panel, see lighting attachment

1шт.

15

NSS

NOT SOLD SEPARAT

SWITCH rear work light, see lighting attachment

1шт.

16

NSS

NOT SOLD SEPARAT

SWITCH light, see relays, switches, and fuses

1шт.

17

NSS

NOT SOLD SEPARAT

METER hour, see gauges, and warning lights

1шт.

18

NSS

NOT SOLD SEPARAT

LIGHT trans. warning, see gauges, and warning lights

1шт.

19

NSS

NOT SOLD SEPARAT

SWITCH accelerator, see relays, switches, and fuses

1шт.

20

NSS

NOT SOLD SEPARAT

VALVE, solenoid, see transmission, group 7

1шт.

21

NSS

NOT SOLD SEPARAT

SWITCH foot brake, see relays, switches, and fuses

1шт.

2

NSS

NOT SOLD SEPARAT

SWITCH hand brake, see relays, switches, and fuses

1шт.

23

NSS

NOT SOLD SEPARAT

HORN, see horn

1шт.

24

NSS

NOT SOLD SEPARAT

BUTTON horn, see relays, switches, and fuses

1шт.

25

NSS

NOT SOLD SEPARAT

LIGHT fuel warning, see gauges, and warning light

1шт.

26

NSS

NOT SOLD SEPARAT

TRANSMITTER fuel, warning light, see gauges, and warning lights

1шт.

27

NSS

NOT SOLD SEPARAT

INDICATOR heat, see gauges, and warning lights

1шт.

28

NSS

NOT SOLD SEPARAT

TRANSMITTER heat indicator, see gauges, and warning lights

1шт.

29

NSS

NOT SOLD SEPARAT

LIGHT oil warning, see gauges, and warning lights

1шт.

30

NSS

NOT SOLD SEPARAT

TRANSMITTER oil warning light, see transmission oil temp. gauge

1шт.

3061346R91

SPARE PART starter, to crankcase earth, not illustrated

1шт.

3114411R1

CABLE

battery to earth, not illustrated

1шт.

3114412R2

CABLE

battery to starter, not illustrated

1шт.

3114416R1

CABLE

ASSY. key switch to indicator resistor, not illustrated

1шт.

708712R1

NO LONGER SERVICED

CLIP cable, not illustrated

1шт.

708713R1

PIPE

CLIP cable, not illustrated

1шт.

708115R1

PLATE ASSY.

CLIP cable, not illustrated

6шт.

708117R1

NO LONGER SERVICED

CABLE STRAP/Retired CLIP cable, not illustrated

2шт.

3070930R1

CLIP

cable, not illustrated

1шт.

537024R1

CLIP

cable, not illustrated

2шт.

3070900R1

CLIP cable, not illustrated

2шт.

3068578R1

CLIP cable, not illustrated

2шт.

289862C1

CABLE TIE,3/16" x 7"

CABLE STRAP Not Illustrated

1шт.

108016

BOLT hex head, 1/4, not illustrated

1шт.

103319

LOCK WASHER,1/4"

Main harness earth connector, Not illustrated

1шт.

Выбрано товаров: 46