Качественные детали и логистика
Оригинальные и аналоговые запчасти с доставкой по России, Казахстану и Беларуси
©2022 PartSell ООО "Система" ИНН 2463123282 ОГРН 1212400004838
Центральный офис: г. Красноярск, Академика Киренского, д.87, пом.4
Телефон: 8 (800) 777-65-74 Email: zakaz@partsell.ru
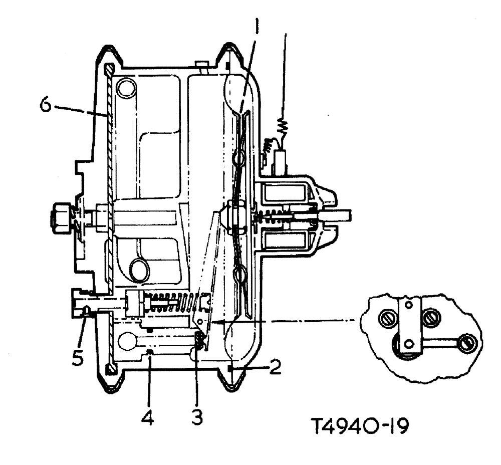
(12-036) - SECOND STAGE DIAPHRAGM VAPORISER REGULATOR
№
Артикул
Название
Примечание
Количество
1
3109943R1
DIAPHRAGM
second stage, regulator
1шт.
2
3109945R1
SEAL
low pressure, chamber
3
3109952R1
PAD
valve
4
3109950R1
RING
sealing, large high pressure
5
3109948R1
pressure, relief valve
6
3109944R1
water sealing
Выбрано товаров: 0