Качественные детали и логистика
Оригинальные и аналоговые запчасти с доставкой по России, Казахстану и Беларуси
©2022 PartSell ООО "Система" ИНН 2463123282 ОГРН 1212400004838
Центральный офис: г. Красноярск, Академика Киренского, д.87, пом.4
Телефон: 8 (800) 777-65-74 Email: zakaz@partsell.ru
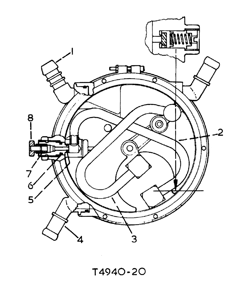
(12-038) - HEATING PIPES VAPORISER REGULATOR
№
Артикул
Название
Примечание
Количество
1
3109969R1
NOZZLE INJECTION
UNION gas outlet
1шт.
2
3109946R1
PIPE
primary heating, head, 1 deg.
3
3109947R1
secondary heating, head, 2 deg.
4
3109970R1
UNION water
2шт.
5
3109951R1
RING
sealing, small, high pressure
6
3109949R1
heating pipe
7
3109972R1
OLIVE
SLEEVE
8
3109971R1
NUT
UNION inlet
Выбрано товаров: 0