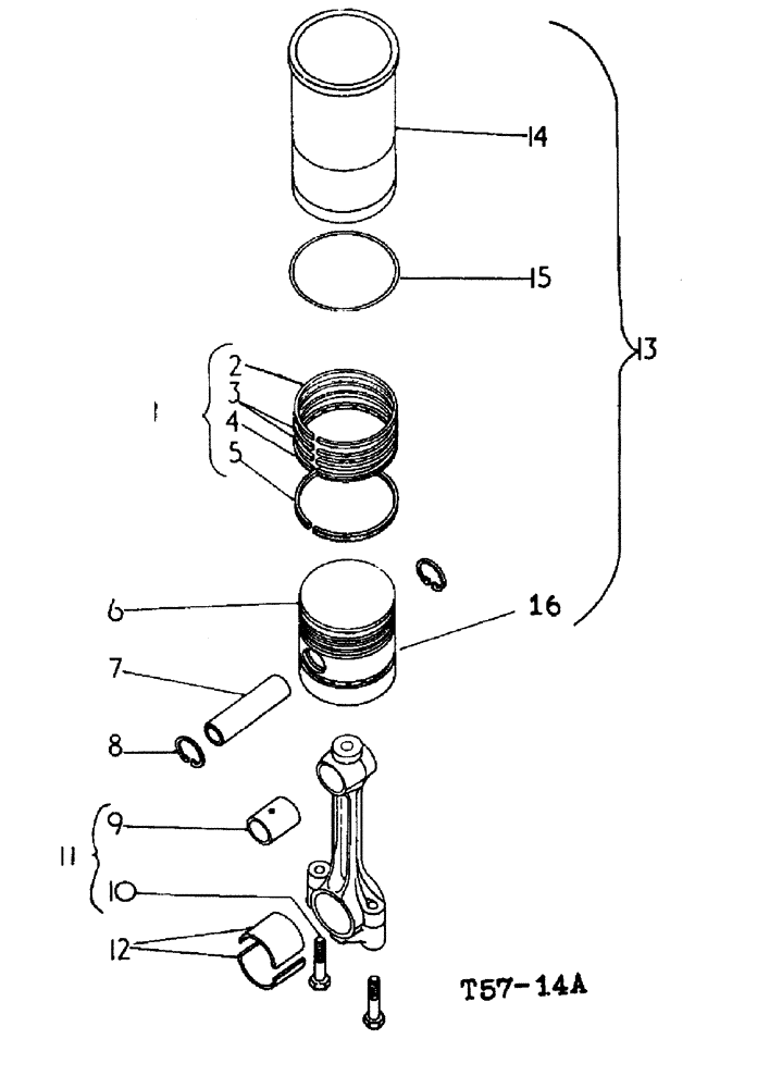
Запчасти Case 500 (12-056) - CONNECTING ROD AND PISTON UNIT DIESEL ENGINE No Description

Схема запчастей Case 500 - (12-056) - CONNECTING ROD AND PISTON UNIT DIESEL ENGINE No Description
2
14
13
15
3
6
11
4
8
16
9
5
7
12
10
FIT
1:1
100%

Артикул

Название

Примечание

Количество

1

3114778R91

PISTON RING SET

4шт.

2

NSS

NOT SOLD SEPARAT

RING piston, compression top, not serviced

1шт.

3

NSS

NOT SOLD SEPARAT

RING piston, compression, not serviced

2шт.

4

NSS

NOT SOLD SEPARAT

RING piston, oil control top, not serviced

1шт.

5

NSS

NOT SOLD SEPARAT

RING piston, oil control, not serviced

1шт.

6

3044486R3

PISTON

4шт.

7

3044476R1

PIN

piston STD

4шт.

7

3044477R1

SPARE PART piston .005, undersize, as required

1шт.

8

704095R1

SNAP RING,M28, Int

piston pin

8шт.

9

711045R1

BUSHING

piston pin

4шт.

9

3043611R1

BUSHING

piston pin, optional

4шт.

10

3043216R1

BOLT,3/8" - 24 x 2"

connecting rod

8шт.

11

3061216R91

CONNECTING ROD

CPTE. set of 4

1шт.

3061214R91

PITMAN ASSY.

ROD

4шт.

11

3061214R91

PITMAN ASSY.

ROD connecting

4шт.

3043216R1

BOLT,3/8" - 24 x 2"

2шт.

711045R1

BUSHING

1шт.

NSS

NOT SOLD SEPARAT

CAP

1шт.

NSS

NOT SOLD SEPARAT

ROD

1шт.

12

3070536R11

BEARING

connecting rod, CPTE., STD two halves

4шт.

12

3070537R11

BEARING

connecting rod, CPTE., .030 undersize, two halves, as required

1шт.

12

3070538R11

JOURNAL

BEARING connecting rod, CPTE., .015 undersize, two halves, as required

1шт.

12

3070546R91

BEARING LINER

PACKAGE connecting rod STD as required

1шт.

12

3070547R91

CRANKSHAFT BEARING

PACKAGE connecting rod, .030 undersize, as required

1шт.

12

3070539R91

BEARING LINER

PACKAGE connecting rod .015 undersize as required

1шт.

13

3044478R94

PISTON ASSY.

SLEEVE cylinder CPTE., set of 4

1шт.

3044479R94

PISTON & RINGS KIT

and SLEEVES

4шт.

13

3044479R94

PISTON & RINGS KIT

with sleeve and rings, CPTE.

4шт.

3044480R94

PISTON

1шт.

704100R1

SEALING RING,5.46mm Thk x 91.06mm ID

1шт.

3044481R3

LINER, ENGINE CYLIND

SLEEVE

1шт.

14

3044481R3

LINER, ENGINE CYLIND

4шт.

15

704100R1

SEALING RING,5.46mm Thk x 91.06mm ID

packing cylinder sleeve

4шт.

16

3044480R94

PISTON

PIN and RINGS ASSY.

4шт.

3044476R1

PIN

1шт.

3044486R3

PISTON

1шт.

704095R1

SNAP RING,M28, Int

2шт.

NSS

NOT SOLD SEPARAT

RING

1шт.

NSS

NOT SOLD SEPARAT

RING

2шт.

NSS

NOT SOLD SEPARAT

RING

2шт.

Выбрано товаров: 40