Запчасти Case 550 (9-10) - COUNTERWEIGHTS (09) - CHASSIS/ATTACHMENTS

Схема запчастей Case 550 - (9-10) - COUNTERWEIGHTS (09) - CHASSIS/ATTACHMENTS
6
1
4
2
5
3
FIT
1:1
100%

Артикул

Название

Примечание

Количество

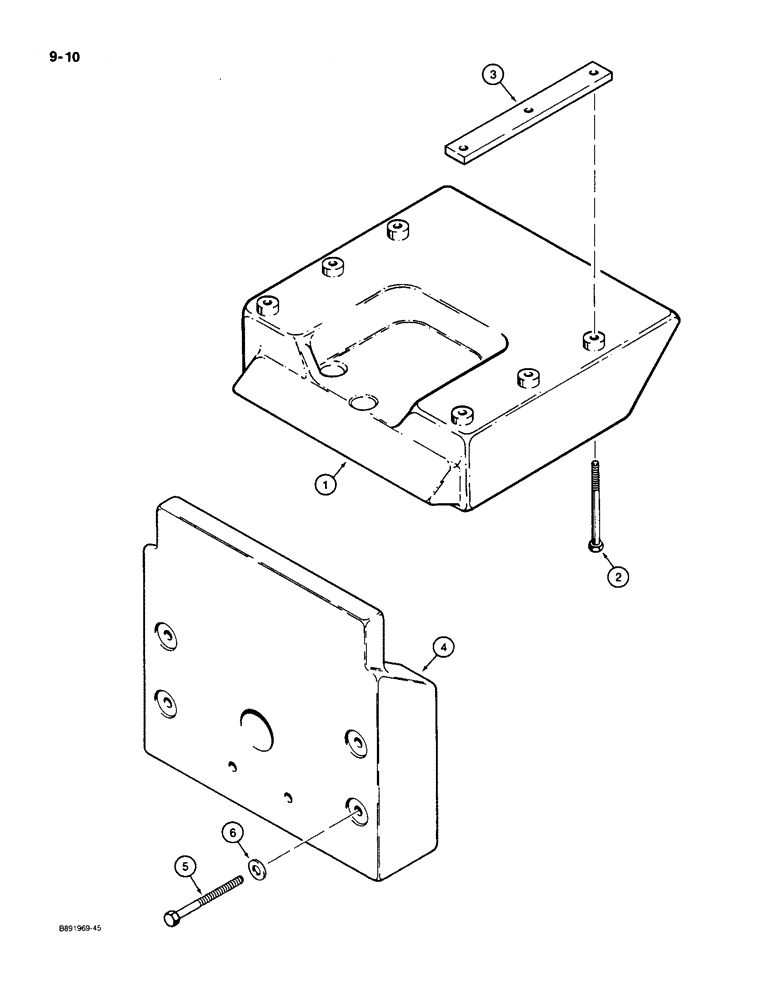
1

R48541

WEIGHT

COUNTERWEIGHT - front, 930 lb (421 kg), if used, not used, models with a backhoe with pull hook), front models with a backhoe

1шт.

2

13-10128

BOLT,Hex, 5/8" - 11 x 8", Gr 5

Front model with a backhoe Hex, 5/8"-11 x 8", G5

6шт.

3

R56697

LARGE PLATE

PLATE - counterweight mounting, front models with a backhoe

2шт.

4

R57072

BALANCER

COUNTERWEIGHT - rear, 500 lb (227 kg), for the drawbar used with this counterweight, see Figure 9-8, Refs. 6 - 11

1шт.

5

26-12120

BOLT,Hex, 3/4" - 10 x 7-1/2", Gr 8

- hex, 3/4 NC x 7-1/2 inch, grade 8, rear counterweight

4шт.

6

T53681

WASHER,19.84mm ID x 44.5mm OD x 5.559mm Thk

- flat, 20 x 44 x 6 mm, hardened, rear counterweight

4шт.

Выбрано товаров: 6