Запчасти Case 550E (3-04) - FUEL TANK (03) - FUEL SYSTEM

Схема запчастей Case 550E - (3-04) - FUEL TANK (03) - FUEL SYSTEM
10
17
13
16
9
2
19
21
4
5
18
8
15
6
14
20
11
12
7
3
1
FIT
1:1
100%

Артикул

Название

Примечание

Количество

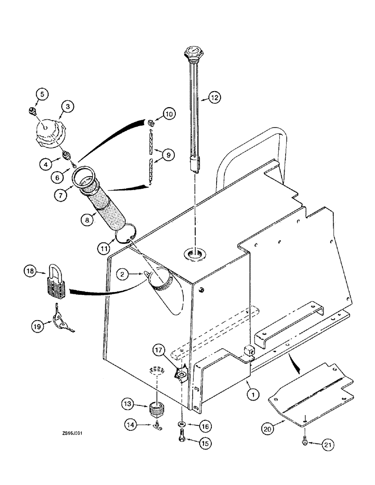
1

R58151

TANK

ASSEMBLY - fuel

1шт.

2

R46704

BRACKET

TAB - locking, fuel cap, weld on

1шт.

R57981

FILLER CAP

CAP ASSEMBLY- fuel tank

1шт.

3

NSS

NOT SOLD SEPARAT

CAP - fuel tank

1шт.

4

A50096

VALVE

- relief, fuel tank

1шт.

5

R57888

FILTER

- air inlet, fuel tank

1шт.

6

301-14712

SCREW,Drive, #12 x 3/4"

- drive, round head, No. 12 x 3/4 inch

1шт.

7

R49868

GASKET,72mm ID x 90mm OD x 3mm Thk

- rubber, fuel cap

1шт.

8

R51771

STRAINER ASSY.

STRAINER - fuel

1шт.

9

R47786

CHAIN (CE)

CHAIN - filler, Serial Range: cap-strainer

1шт.

10

R48634

FASTENER

HOOK - chain

1шт.

11

103-21300

SNAP RING,3.00", Int, #300

Ring, Snap, , Fuel strainer, chain 3.00", Int, #300

1шт.

12

R28475

FUEL GAUGE

GAUGE - fuel tank

1шт.

13

R27578

PLUG

- drain

1шт.

14

217-81

VALVE

- drain, 1/8 inch PT, drain , fuel tank

1шт.

15

413-820

BOLT,Hex, 1/2" - 13 x 1-1/4", Gr 5

- hex, 1/2 NC x 1-1/4 inch

4шт.

16

496-21053

WASHER,17/32" x 1 1/16" x .134"

- flat, 17/32 x 1-1/16 x 1/8 inch, hardened

4шт.

17

D44330

SHIM,.031" Thk

(21/32" ID x 1-1/4" OD) .031" Thk

1шт.

18

D93753

PADLOCK

- includes keys, if used

1шт.

19

R29555

KEY

- for Master padlock only

2шт.

19

D93751

SET OF 2 KEYS

KEY - for Yale padlock only

2шт.

20

R58566

GUARD

COVER - transmission controls, lower

1шт.

See Figure 6-46 items 55, 55A and 56 for top and front console covers.

1шт.

21

160-106

BOLT,Hex, 1/2" - 13 x 1", Gr 8, Full Thd

4шт.

Выбрано товаров: 24