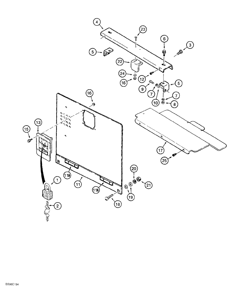
Запчасти Case 550G (9-14) - BATTERY COMPARTMENT AND REAR COVER (05) - UPPERSTRUCTURE CHASSIS

Схема запчастей Case 550G - (9-14) - BATTERY COMPARTMENT AND REAR COVER (05) - UPPERSTRUCTURE CHASSIS
22
24
11a
18
12
25
7
23
4
8
21
7
11
20
16
13
1
19
16
3
11a
10
5
9
17
6
5
2
15
FIT
1:1
100%

Артикул

Название

Примечание

Количество

1

D93753

PADLOCK

rear cover latch, includes keys, if used, Includes: Ref. 2

1шт.

2

R29555

KEY

for Master padlock only

2шт.

2

D93751

SET OF 2 KEYS

for Yale padlock only

2шт.

3

160-106

BOLT,Hex, 1/2" - 13 x 1", Gr 8, Full Thd

2шт.

4

R57059

COVER

BRACKET mounting

1шт.

5

R48725

SUPPORT

mounting

2шт.

6

160-102

BOLT,Hex, 3/8" - 16 x 1", Gr 8, Full Thd

2шт.

7

492-11038

LOCK WASHER,3/8"

If Used

4шт.

8

425-106

NUT,3/8"-16, Cl 5

If Used

2шт.

8

131-203

LOCK NUT,3/8"-16, GB, LH

light hex, self-locking, 3/8" NC, if used

2шт.

9

413-612

BOLT,Hex, 3/8" - 16 x 3/4", Gr 5

2шт.

10

495-11041

WASHER,0.406" ID x 0.812" OD x 0.065" W

Flat, 13/32" x 13/16" x 1/16", If used

2шт.

10

496-21041

WASHER,13/32" x 13/16" x .089", HDN

If used

2шт.

11

300236A1

PLATE ASSY.

COVER rear, hinged, Replaces: R55501, Includes: Ref. 11A

1шт.

11a

R50984

HINGE

weld-on, rear cover

2шт.

12

A161780

BUMPER

rubber

2шт.

13

R56221

LATCH

LATCH rear cover

1шт.

15

458-412

BOLT,Hex, 1/4" - 20 x 3/4", Gr 5

4шт.

16

231-5344

FLANGE NUT,Flg, 1/4"-20

6шт.

17

R58789

COVER

battery

1шт.

18

411-820

CARRIAGE BOLT,Sq Nk, 1/2" - 13 x 1 1/4", Gr 2

carriage, 1/2" NC x 1-1/4", grade 2

2шт.

19

495-11053

WASHER,1/2", SAE

(17/32" x 1-1/16" x 3/32")

4шт.

20

80679

LOCK WASHER,1/20.507 CST ZND

2шт.

21

425-108

NUT,1/2" - 13, Gr 5

2шт.

22

R57058

SUPPORT

STRIKER latch, rear cover

1шт.

23

413-412

BOLT,Hex, 1/4" - 20 x 3/4", Gr 5

2шт.

24

495-21031

WASHER,1/4"

flat, 5/16" x 3/4" x 1/16"

2шт.

25

F22426

STOP

BUMPER rubber

3шт.

Выбрано товаров: 28