Запчасти Case 550G (8-40) - LIFT SECTION (07) - HYDRAULIC SYSTEM

Схема запчастей Case 550G - (8-40) - LIFT SECTION (07) - HYDRAULIC SYSTEM
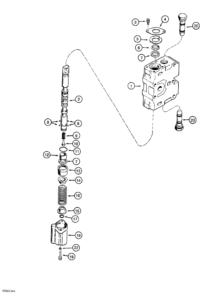
12
18
15
17
6
1
3
10
5
19
11
20
8
14
8
22
16
7
13
20
9
7
2
4
FIT
1:1
100%

Артикул

Название

Примечание

Количество

100801A1

KNIFE SECTION

SECTION, KNIFE ASSY. lift, no longer available, order 357161A1, see Figure 8-41A, Includes: Ref. 1 - 22

1шт.

1

NSS

NOT SOLD SEPARAT

HOUSING section

1шт.

2

NSS

NOT SOLD SEPARAT

SPOOL section

1шт.

3

61-3258

HEX SOC SCREW,1/4"-20 x 1/2"

hex socket, 1/4" NC x 1/2"

2шт.

4

N8194

LARGE PLATE

PLATE, LARGE retainer

1шт.

5

136898A1

RETAINER

spool seal

1шт.

6

136900A1

WIPER SEAL

WIPER spool

1шт.

7

100850A1

SEAL

lip, spool eye and detent end, Replaces: 136902A1

2шт.

8

S301095

BALL

steel, 7/32" dia.

4шт.

9

100848A1

SPRING

detent, 7/16" OD x 5/64" long

1шт.

10

N7035

VALVE POPPET

detent

1шт.

11

238-5121

O-RING,0.103" Thk x 1.049" ID, -121, Cl 5, 75 Duro

1шт.

12

S301097

SLEEVE VALVE

spool

1шт.

13

100847A1

SLEEVE

detent

1шт.

14

100845A1

COLLAR

SEAT spring, upper

1шт.

15

N7033

SEAT

spring, lower

1шт.

16

100846A1

SPRING

centering, spool

1шт.

17

100-1162

SNAP RING,#62, Ext

Spool

1шт.

18

S301093

CAP

spool detent, Replaces: 136896A1

1шт.

19

102201A1

HEX SOC SCREW,1/4" - 20 x 7/8", W/ Nylon Patch

Special

2шт.

20

D87307

VALVE

ASSY. load check, see Figure 8-44

2шт.

22

492-11025

LOCK WASHER,1/4"

2шт.

Выбрано товаров: 22