Запчасти Case 550H (6-19) - TRANSMISSION, CONTROL, RANGE SHIFT (06) - POWER TRAIN

Схема запчастей Case 550H - (6-19) - TRANSMISSION, CONTROL, RANGE SHIFT (06) - POWER TRAIN
15
5
19
3
1
9
13
22
21
6
10
11
4
2
7
17
16
17
8
11
11
21
18
10
20
6
12
7
4
14
16
FIT
1:1
100%

Артикул

Название

Примечание

Количество

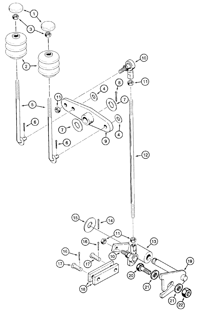
1

R57963

PEDAL

2шт.

2

D141049

BOOT

2шт.

3

425-106

NUT,3/8"-16, Cl 5

2шт.

4

495-21044

WASHER,3/8"

(7/16 x 1 x 5/64)

2шт.

5

R58478

ROD

2шт.

6

432-612

COTTER PIN,3/32" x 3/4"

2шт.

7

896-11020

WASHER,22mm ID x 37mm OD x 4mm Thk

22 x 37 x 4 mm

2шт.

8

32-1220

COTTER PIN,3/16" x 1 1/4"

1шт.

9

R58623

LEVER

Bellcrank

1шт.

10

R47940

BALL JOINT

3/8 NF

2шт.

11

425-116

NUT,3/8" - 24, Gr 5

4шт.

12

S224930

STUD

Rod

1шт.

13

R58567

LEVER

1шт.

14

432-1220

COTTER PIN,3/16" x 1 1/4"

1шт.

15

495-11066

WASHER,5/8", SAE

21/32 x 1-5/16 x 3/32

1шт.

16

432-612

COTTER PIN,3/32" x 3/4"

2шт.

17

D149288

PIN,8.33mm OD x 30.66mm L

Clevis

2шт.

18

R53701

LINK

2шт.

19

100729A1

SHAFT

Lever

1шт.

20

413-824

BOLT,Hex, 1/2" - 13 x 1-1/2", Gr 5

1шт.

21

496-21053

WASHER,17/32" x 1 1/16" x .134"

2шт.

22

231-1448

NUT,1/2"-13, GB

1шт.

Выбрано товаров: 22