Запчасти Case 550H (7-01) - PEDALS AND LINKAGE, BRAKE (07) - BRAKES

Схема запчастей Case 550H - (7-01) - PEDALS AND LINKAGE, BRAKE (07) - BRAKES
31
16
18
9
14
6
23
8
7
4
32
24
11
19
19
2
29
5
21
11
19
20
20
17
29
17
27
19
24
3
25
25
9
20
10
33
17
27
24
18
32
19
19
1
15
9
14
10
19
30
15
10
26
12
13
28
17
10
12
9
22
28
22
18
25
21
FIT
1:1
100%

Артикул

Название

Примечание

Количество

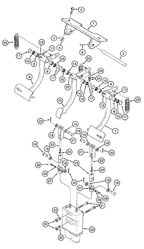
1

356914A1

BRACKET

Mounting

1шт.

2

433-828

CARRIAGE BOLT,Sq Nk, 1/2" - 13 x 1 3/4", Gr 5

1/2 x 1-3/4

2шт.

3

80679

LOCK WASHER,1/20.507 CST ZND

2шт.

4

425-108

NUT,1/2" - 13, Gr 5

2шт.

5

R58225

SHAFT

Brake Pedal

1шт.

6

38-11622

LOCK PIN,1/4" x 1 3/8", Slotted

1/4" x 1 3/8", Slotted

1шт.

7

R58465

PEDAL

Brake Right Hand Includes : 9 - 12

1шт.

8

R58466

PEDAL

Brake Left Hand Includes : 9 - 12

1шт.

9

L31166

NEEDLE BEARING

Roller

2шт.

10

65457C1

SEAL,19.04mm ID x 25.5mm OD x 3.17mm Thk

Oil

2шт.

11

L13071

BUSHING

1шт.

12

219-57

LUBE NIPPLE,90 Degree Elbow, 1/4" - 28 NPTF

1/4 tpr x 3/4

1шт.

13

R58628

PEDAL

Brake Center Includes : 14 - 16

1шт.

14

L31166

NEEDLE BEARING

Roller

2шт.

15

65457C1

SEAL,19.04mm ID x 25.5mm OD x 3.17mm Thk

Oil

2шт.

16

219-57

LUBE NIPPLE,90 Degree Elbow, 1/4" - 28 NPTF

1/4 tpr x 3/4

1шт.

17

D35268

SHIM,1/32" Thk

1шт.

18

427-8168

CLEVIS PIN,12.7mm OD x 42.88mm L

4шт.

19

495-11053

WASHER,1/2", SAE

(17/32" x 1-1/16" x 3/32")

8шт.

20

432-816

COTTER PIN,1/8" x 1"

4шт.

21

R58362

FORK

Yoke

2шт.

22

17-696

BOLT,Sq Hd, 3/8" - 16 x 6", Gr 2

Square 3/8 x 6; 2

2шт.

23

R58461

LINK

Adjustable

2шт.

24

425-146

JAM NUT,3/8" - 16, Gr 5

4шт.

25

R36912

SPRING

3шт.

26

113-232

BOLT,Hex, 3/8" - 16 x 2", Gr 5, Full Thd

Pedal adjustment

1шт.

27

384083R2

YOKE

2шт.

28

413-518

BOLT,Hex, 5/16" - 18 x 1-1/8", Gr 5

5/16 x 1-1/8

2шт.

29

492-11031

LOCK WASHER,5/16"

2шт.

30

1272218C1

VALVE

Brake See Figure(s) : 7-02

1шт.

31

413-660

BOLT,Hex, 3/8" - 16 x 3-3/4", Gr 5

3/8 x 3-3/4

2шт.

32

496-41041

WASHER,13/32" x 1 1/8" x .134"

2шт.

33

231-1446

NUT,3/8" - 16, Gr 5

Replaces 231-1406

2шт.

Выбрано товаров: 0