Запчасти Case 550H-IND (08-20) - SECTION ASSEMBLY, TILT, ANGLE, AND AUXILIARY (08) - HYDRAULICS

Схема запчастей Case 550H-IND - (08-20) - SECTION ASSEMBLY, TILT, ANGLE, AND AUXILIARY (08) - HYDRAULICS
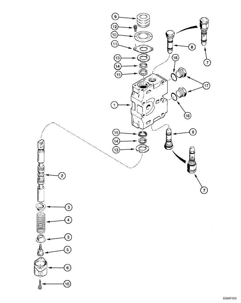
9
7
3
8
14
14
15
11
6
10
12
3
16
13
13
2
18
5
4
15
18
7
1
17
8
FIT
1:1
100%

Артикул

Название

Примечание

Количество

357166A3

HYD VALVE SECTION

Ripper Consists Of : 1 - 16, Replaces 357166A1 & 357166A2

1шт.

357165A3

HYD VALVE SECTION

Tilt Control Control Consists Of : 1 - 16, Replaces 357165A1 & 357165A2

1шт.

394606A2

HYD VALVE SECTION

Angle Control Consist Of: 1-16, 19, Replaces 394606A1

1шт.

1

NSS

NOT SOLD SEPARAT

Housing

1шт.

2

NSS

NOT SOLD SEPARAT

Spool

1шт.

3

H267591

SPRING SEAT

2шт.

4

100854A1

SPRING

1шт.

5

N14593

STEP BOLT

Bolt, Special

1шт.

6

S301092

FLANGE COVER CAP

1шт.

7

N8950

VALVE

Relief Ripper Section See Figure(s) : 08-22

2шт.

8

D87307

VALVE

Check Tilt and Angle Sections See Figure(s) : 08-21

2шт.

352796A1

PACKAGE

Kit, Repair Consists Of : 9 - 16

1шт.

9

357164A1

BOOT

1шт.

10

357163A1

RETAINER

1шт.

11

N8194

LARGE PLATE

PLATE, LARGE

1шт.

12

61-3258

HEX SOC SCREW,1/4"-20 x 1/2"

Bolt, Socket 1/4 x 1/2

2шт.

13

D88730

WASHER,0.77" ID x 1.43" OD

Retainer, Seal

2шт.

14

D88729

WASHER,0.76" ID x 1" OD x 0.05" Thk

Special

2шт.

15

N13962

O-RING,0.139" Thk x 0.734" ID, -210, Cl 5, 75 Duro

2шт.

16

102201A1

HEX SOC SCREW,1/4" - 20 x 7/8", W/ Nylon Patch

2шт.

17

86512512

PLUG,7/8" - 14 ORB

4 Spool to 3 Spool, Incl.18; If used

2шт.

18

237-6010

O-RING,0.097" Thk x 0.755" ID, -910, Cl 6, 90 Duro

1шт.

19

N13669

WASHER

Shim Not Illustrated, Used with 394606A2 Angle Control

1шт.

Выбрано товаров: 23