Запчасти Case 550H-IND (02-04) - COOLANT RECOVERY SYSTEM (02) - ENGINE

Схема запчастей Case 550H-IND - (02-04) - COOLANT RECOVERY SYSTEM (02) - ENGINE
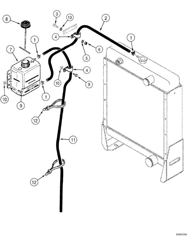
8
13
9
9
1
4
10
3
12
2
12
11
5
1
6
4
10
1
7
FIT
1:1
100%

Артикул

Название

Примечание

Количество

1

A171099

HOSE CLAMP,13.2mm - 15.4mm

3шт.

2

372127A1

HOSE,7.50 mm ID, 8.30 mm ID x 635.00 mm, SAE J30

Radiator to Coolant Reservoir

1шт.

3

413-624

BOLT,Hex, 3/8" - 16 x 1-1/2", Gr 5

1шт.

4

515-23127

CLAMP,1/2", Insul, 3/8" Bolt

2шт.

5

39519

WASHER,10.31mm ID x 34.9mm OD x 3.57mm Thk

Special

1шт.

6

231-1446

NUT,3/8" - 16, Gr 5

1шт.

7

L127093

RESERVOIR

1шт.

8

A184079

CAP

Reservoir, Replaces 1547924C1 Used On Some Models

1шт.

9

121-130

SERRATED BOLT,Hex, 5/16" - 18 x 3/4", Gr 5

If used

4шт.

9

121-107

SERRATED BOLT,Hex, 5/16" - 18 x 1", Gr 5

CAD; If Used

4шт.

9

409-7516

BOLT,Hex Flg, 5/16" - 18 x 1", Spcl

If Used

4шт.

10

232-5345

FLANGE NUT,Flg, 5/16"-18

4шт.

11

360022A1

HOSE,8.00 mm ID x 1180.00 mm, SAE J30R6

Reservoir To Radiator Overflow, If Used

1шт.

11

A171872

HOSE,8.30 mm ID x 1000.00 mm, SAE J30, SAE 20R4 PER SAE j20e

Reservoir to Radiator Overflow, If used

1шт.

12

L18337

CABLE TIE,9.95"-12.1" lg

CABLE STRAP Nylon, 15 Inch

3шт.

13

495-11041

WASHER,0.406" ID x 0.812" OD x 0.065" W

(13/32 x 13/16 x 1/16")

1шт.

Выбрано товаров: 16