Запчасти Case 550H-IND (03-06) - FUEL TANK (03) - FUEL SYSTEM

Схема запчастей Case 550H-IND - (03-06) - FUEL TANK (03) - FUEL SYSTEM
8
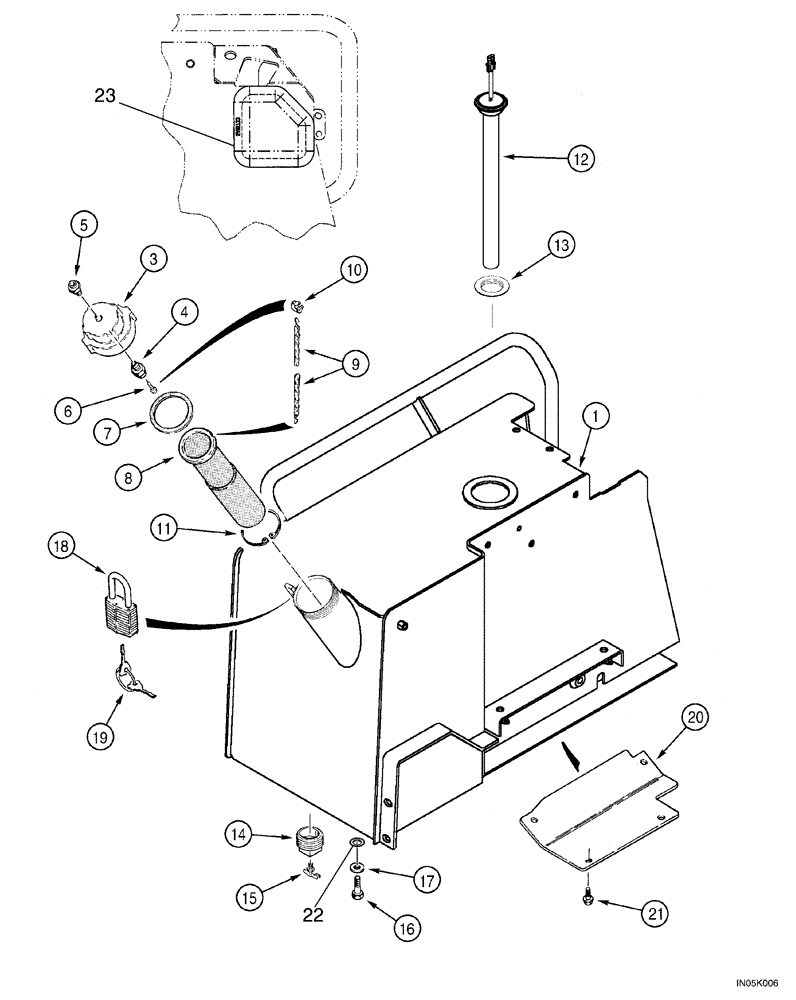
14
17
5
18
9
11
20
21
16
13
22
10
6
7
12
19
3
4
23
15
1
FIT
1:1
100%

Артикул

Название

Примечание

Количество

1

327256A2

TANK

Fuel, Includes : 2 - 6

1шт.

2

R46704

BRACKET

Weld-On

1шт.

3

R57981

FILLER CAP

Fuel, Includes : 4 - 6

1шт.

4

A50096

VALVE

Relief Use Loctite No. 592

1шт.

B17425

LOCTITE

No. 592, 50 ml

1шт.

5

R57888

FILTER

Use Loctite No. 592

1шт.

B17425

LOCTITE

No. 592, 50 ml

1шт.

6

301-14712

SCREW,Drive, #12 x 3/4"

Use Loctite No. 242

1шт.

B17577

LOCTITE

No. 242, 6 ml

1шт.

7

R49868

GASKET,72mm ID x 90mm OD x 3mm Thk

Rubber

1шт.

8

R51771

STRAINER ASSY.

If Used

1шт.

9

R47786

CHAIN (CE)

241 mm (9-1/2 in)

1шт.

10

R48634

FASTENER

Hook

1шт.

11

103-21300

SNAP RING,3.00", Int, #300

Replaces D38743

1шт.

12

326276A1

SENSOR

Fuel Level

1шт.

13

255095A1

GROMMET

1шт.

14

R27578

PLUG

Drain Use Loctite No. 592

1шт.

B17425

LOCTITE

No. 592, 50 ml

1шт.

15

217-81

VALVE

Drain, 1/8 PT Use Loctite No. 271

1шт.

B17500

LOCTITE

No. 271, 6 ml

1шт.

16

413-820

BOLT,Hex, 1/2" - 13 x 1-1/4", Gr 5

6шт.

17

496-21053

WASHER,17/32" x 1 1/16" x .134"

6шт.

18

D93753

PADLOCK

Includes : 19

1шт.

19

R29555

KEY

For Master Padlock Only

2шт.

19

D93751

SET OF 2 KEYS

2шт.

20

R58566

GUARD

1шт.

21

160-106

BOLT,Hex, 1/2" - 13 x 1", Gr 8, Full Thd

4шт.

22

D44330

SHIM,.031" Thk

6шт.

23

380801A1

CUSHION

1шт.

Выбрано товаров: 29