Запчасти Case 550H-IND (04-06) - FUSE AND RELAY, MOUNTING, MODELS WITH NATURALLY ASPERATED ENGINE (04) - ELECTRICAL SYSTEMS

Схема запчастей Case 550H-IND - (04-06) - FUSE AND RELAY, MOUNTING, MODELS WITH NATURALLY ASPERATED ENGINE (04) - ELECTRICAL SYSTEMS
7
12
13
24b
9
18
12
23
25
2
8
3
24a
4
6
16a
20
19
21
14
22
4
5
3
17
16b
11
15
14
24
10
1
2
16
4a
FIT
1:1
100%

Артикул

Название

Примечание

Количество

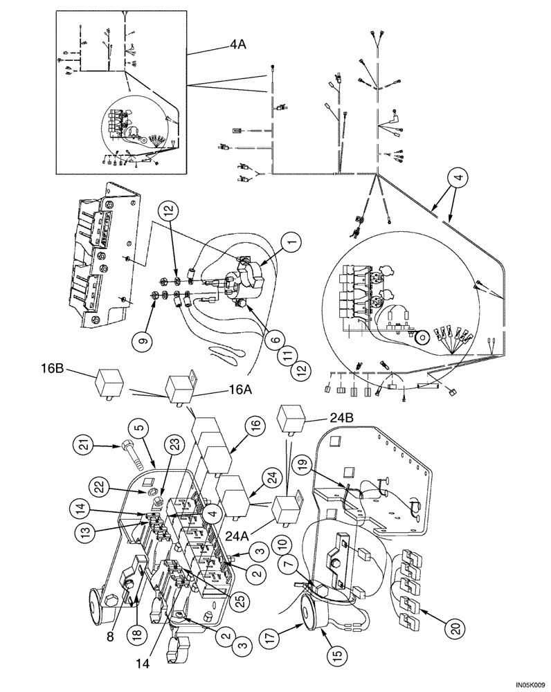
1

120399A1

RELAY

100 amp Starter

1шт.

2

140-107

SCREW,Pan HD, #10 - 24 x 3/4"

6шт.

3

86625057

NUT,#10-24, GB

6шт.

4

338943A1

HARNESS

Front; No Longer Available, Order 338943A2 Harness, Ref. 4A

1шт.

4a

338943A2

HARNESS

Front

1шт.

5

341992A1

BRACKET

1шт.

6

614-6020

BOLT,Hex, M6 x 1 x 20mm, Cl 8.8, Full Thd

2шт.

7

614-10025

BOLT,Hex, M10 x 1.5 x 25mm, Cl 8.8

1шт.

8

814-6035

BOLT,Hex, M6 x 1 x 35mm, Cl 8.8

1шт.

9

829-1406

NUT,Hex, M6 x 1, Cl 10.9

M6; 10.9

2шт.

10

829-1410

NUT,M10 x 1.5, Cl 10.9

1шт.

11

832-10406

NUT,M6 x 1, Cl 8

3шт.

12

895-11006

WASHER,6.6mm ID x 12mm OD x 1.6mm Thk

5шт.

13

A149800

FUSE,10 Amp

10 amp

3шт.

14

A149804

FUSE

30 amp

2шт.

15

D120561

CLAMP

1шт.

16

D128310

RELAY

30 amp; No Longer Available, Order 314451A1, Ref. 16A

4шт.

16a

314451A1

RELAY

45 amp; If Used

4шт.

16b

87436836

RELAY,12V, 40 Amp

Mini 12V 40A; If Used

4шт.

17

D137468

BUZZER

Alarm Warning

1шт.

18

F22316

RESISTOR,75 Ohms 0.2 Amps DC

75 ohm

1шт.

19

L18337

CABLE TIE,9.95"-12.1" lg

CABLE STRAP Nylon, 15 Inch

2шт.

20

L71879

DIODE ELEMENT,400V, 3A

5шт.

21

434-820

CARRIAGE BOLT,Sht Sq Nk, 1/2" - 13 x 1 1/4", Gr 5

1/2 x 1-1/4

2шт.

22

80679

LOCK WASHER,1/20.507 CST ZND

2шт.

23

425-108

NUT,1/2" - 13, Gr 5

2шт.

24

D128310

RELAY

30 amp Air Suspension Seat Heater; No Longer Available, Order 314451A1, Ref. 24A

1шт.

24a

314451A1

RELAY

45 amp; If Used

1шт.

24b

87436836

RELAY,12V, 40 Amp

Mini 12V 40A; If Used

1шт.

25

A149804

FUSE

30 amp, Air Suspension Seat Heater

1шт.

Выбрано товаров: 30