Запчасти Case 550H-IND (04-09) - HARNESS, FRONT - ALTERNATOR, ENGINE RIGHT HAND SIDE AND ALTERNATOR MOUNTING (04) - ELECTRICAL SYSTEMS

Схема запчастей Case 550H-IND - (04-09) - HARNESS, FRONT - ALTERNATOR, ENGINE RIGHT HAND SIDE AND ALTERNATOR MOUNTING (04) - ELECTRICAL SYSTEMS
1
7
12
9
13
2
14
6
17
3
22
1
5
4
21
15
19
8
11
10
16
7
18
20
1
FIT
1:1
100%

Артикул

Название

Примечание

Количество

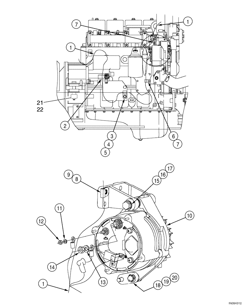
1

338943A1

HARNESS

Front; No Longer Available, Order 338943A2 Ref. 1A

1шт.

1a

338943A2

HARNESS

Front, Not Illustrated See Figure(s): 04-06, 04-07

1шт.

2

86982709

STARTER MOTOR,12V, 2.5kW

See Figure(s) : 04-01, Replaces 1987559C1

1шт.

2

86982709R

REMAN-STARTER,12V, 2.5kW

See Figure(s) : 04-01, Replaces 1987559C1

1шт.

2

86982709C

CORE-STARTER,12V, 2.5kW

Return Number

1шт.

3

515-25190

CLAMP,3/4", Insul, 1/2" Bolt

1шт.

4

614-12025

BOLT,Hex, M12 x 1.75 x 25mm, Cl 8.8, Full Thd

1шт.

5

892-11012

LOCK WASHER,M12

1шт.

6

515-23127

CLAMP,1/2", Insul, 3/8" Bolt

1шт.

7

845-8035

BOLT,Hvy Hex, M8 x 35mm, Cl 8.8

1шт.

8

515-2295

CLAMP,3/8", Insul, 5/16" Bolt

1шт.

9

845-8025

BOLT,Hex Flg, M8 x 25mm, Cl 8.8

1шт.

10

A187873

ALTERNATOR,12V, 65A

12V, 65 amp See Figure(s) : 04-02

1шт.

11

892-11005

LOCK WASHER,M5

1шт.

12

824-1405

NUT,M5, Cl 5

1шт.

13

892-11008

LOCK WASHER,8mm ID

1шт.

14

829-1408

NUT,Hex, M8 x 1.25, Cl 10.9

1шт.

15

J902469

SPACER

1шт.

16

814-10100

BOLT,Hex, M10 x 1.5 x 100mm, Cl 8.8

1шт.

17

895-11010

WASHER,11mm ID x 20mm OD x 2mm Thk

11 x 21 x 2 mm, Replaces 896-11010, 11 x 21 x 2.5 mm

1шт.

18

J903089

SUPPORT

Brace

1шт.

19

855-8020

BOLT,Hvy Hex, M8 x 20mm, Cl 10.9

2шт.

20

A140282

WASHER,9.78mm ID x 19.66mm OD x 0.81mm Thk

1шт.

21

129-860

SQUARE NUT,Sq, 5/8"-11

2шт.

22

336371A1

PIN,4.88mm OD x 14.23mm L

Nut Retainer

2шт.

Выбрано товаров: 0