Запчасти Case 450 (270) - D35213 EQUIPMENT CONTROL VALVE (3 SPOOL) (07) - HYDRAULIC SYSTEM

Схема запчастей Case 450 - (270) - D35213 EQUIPMENT CONTROL VALVE (3 SPOOL) (07) - HYDRAULIC SYSTEM
FIT
1:1
100%

Артикул

Название

Примечание

Количество

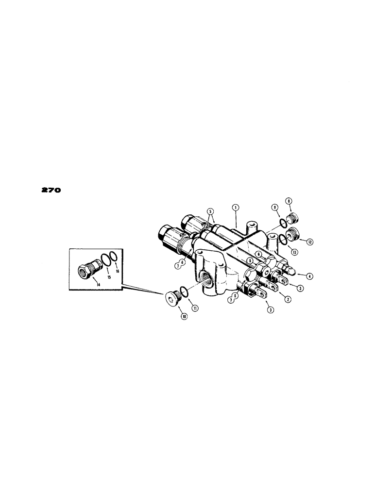
1

D35213

VALVE - equipment control (3 spool), Includes: Ref. 1 - 13

1шт.

2

D37050

SPOOL

- three position (Parts list Figure 280)

1шт.

D37051

SPOOL

- three position (Parts list Figure 280)

1шт.

D37052

SPOOL

- three position (Parts list Figure 280)

1шт.

D37053

SPOOL

- three position (Parts list Figure 280)

1шт.

3

D37054

SPOOL

- four position (Parts list Figure 282)

2шт.

D37055

SPOOL

- four position (Parts list Figure 282)

2шт.

D37056

SPOOL

- four position (Parts list Figure 282)

2шт.

D37057

SPOOL - four position (Parts list Figure 282)

2шт.

4

NSS

NOT SOLD SEPARAT

VALVE - main relief (Parts list figure 280 (1) )

1шт.

5

NSS

NOT SOLD SEPARAT

VALVE - secondary relief (Parts list Figure 288)

3шт.

6

NSS

NOT SOLD SEPARAT

VALVE - check (Parts list Figure 288) 1 used on models with Logging Fork and Grapple Attachment - 3 used on models without Logging Fork and Grapple Attachment (See D39765)

1-3шт.

7

D39768

VALVE

- secondary relief (Parts list figure 286) Used on models with Logging Fork and Grapple Attachment only (Preset at 1000 P.S.I)

2шт.

8

71100209

PLUG,Hex Soc, 3/4"-16 ORB

Valve port, Incl Ref 9 Hex Soc, 3/4"-16 ORB

1шт.

9

218-5006

O-RING,0.087" Thk x 0.644" ID, -908, Cl 6, 90 Duro

SEAL - "O"ring

1шт.

10

9841223

PLUG,1-1/16" - 12 ORB

Valve port, Incl. Ref. 11 Hex Soc, 1 1/16"-12 ORB

1шт.

11

218-5008

O-RING,0.116" Thk x 0.924" ID, -912, Cl 6, 90 Duro

SEAL - "O"ring

1шт.

12

218-5214

PLUG,Hex Soc, 1 5/16"-12 ORB

Valve port, Incl. Ref 13 Hex Soc, 1 5/16"-12 ORB

1шт.

13

218-5010

O-RING,0.116" Thk x 1.171" ID, -916, Cl 6, 90 Duro

SEAL - "O"ring

1шт.

D35401

FITTING

- carryover (Backhoe models only), Includes: Ref. 14 - 16

1шт.

14

NSS

NOT SOLD SEPARAT

FITTING

1шт.

15

218-5010

O-RING,0.116" Thk x 1.171" ID, -916, Cl 6, 90 Duro

SEAL - "O"ring

1шт.

16

A25590

O-RING,15" ID x 1 1" OD x 3/32"

SEAL - "O"ring

1шт.

Выбрано товаров: 0