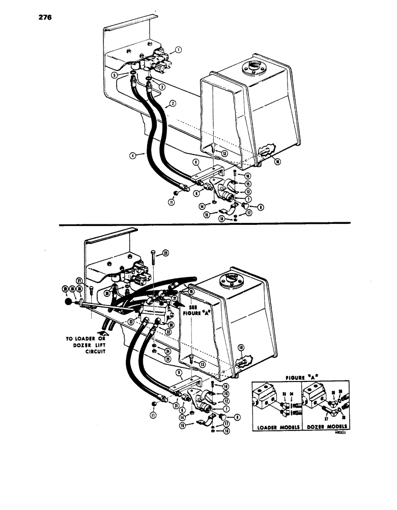
Запчасти Case 450 (276) - PULL BEHIND HYDRAULICS (07) - HYDRAULIC SYSTEM

Схема запчастей Case 450 - (276) - PULL BEHIND HYDRAULICS (07) - HYDRAULIC SYSTEM
FIT
1:1
100%

Артикул

Название

Примечание

Количество

1

REF

INSTRUCTION

VALVE - control, hydraulic (See Fig. 292 and 296 for proper valve)

1шт.

2

D40257

HOSE

- control valve to coupling (41" long), Includes: Ref.#3

1шт.

3

237-6010

O-RING,0.097" Thk x 0.755" ID, -910, Cl 6, 90 Duro

SEAL - "O"ring

1шт.

4

D40258

HOSE

- control valve to coupling (37" long), Includes: Ref.#5

1шт.

5

237-6010

O-RING,0.097" Thk x 0.755" ID, -910, Cl 6, 90 Duro

SEAL - "O"ring

1шт.

6

A27744

ADAPTER,7/8" - 18 x 1/2" NPT

- coupling

2шт.

7

A28542

COUPLING, QUICK, FEM

COUPLING - female (Parts list Fig. 282)

2шт.

A28541

COUPLING, BREAK AWAY

COUPLING - male (Parts list Fig. 282) Not illustrated

2шт.

8

A22768

PLUG

- dust

2шт.

9

D40251

BRACKET - mounting

1шт.

10

13-620

BOLT,Hex, 3/8" - 16 x 1-1/4", Gr 5, Full Thd

1шт.

11

131-6

LOCK NUT,3/8"-16, GC

NUT - hex., lock (3/8" - 16 NC)

1шт.

12

A27360

BRACKET

- coupling

2шт.

13

13-516

BOLT,Hex, 5/16" - 18 x 1", Gr 5

2шт.

14

131-4

LOCK NUT,5/16"-18, GB

NUT - hex, lock (5/16" - 18 NC)

2шт.

15

A27423

CLAMP

- coupling

4шт.

16

173-79

SCREW,Sl Rnd Hd, #8 - 32 x 5/8"

RHMS - no. 8 - 32 NC x 5/8"

4шт.

17

192-6

LOCK WASHER,#8

WASHER, LOCK, #8

4шт.

18

129-6

NUT,#8-32

4шт.

19

D25823

HOSE

- control valve to diversion valve (16-1/2" long), field installed pull behind hydraulics, Includes: Ref.#20

2шт.

20

237-6010

O-RING,0.097" Thk x 0.755" ID, -910, Cl 6, 90 Duro

SEAL - "O"ring, field installed pull behind hydraulics

1шт.

21

218-494

ELBOW,90 Degree Elbow, 7/8" - 14 Male JIC x 3/4" - 14 Male NPTF

- 90 degree, field installed pull behind hydraulics

2шт.

22

D26726

VALVE

- diversion (Parts list Fig. 288), field installed pull behind hydraulics

1шт.

23

13-648

BOLT,Hex, 3/8" - 16 x 3", Gr 5

HHCS - 3/8" - 16 NC x 3", field installed pull behind hydraulics

2шт.

24

92-6

LOCK WASHER,3/8"

WASHER - med. sect. lock , field installed pull behind hydraulics 3/8"

2шт.

25

129-103

NUT,Hex, 3/8" - 16, Gr 5

NUT, (Replaces 25-106), Field installed pull behind hydraulics 3/8"-16, G5

2шт.

26

D38913

BRACKET

- guide, diversion valve rod, field installed pull behind hydraulics

1шт.

27

113-421

BOLT,Hex, 1/2" - 13 x 2", Gr 5

(Replaces 13-832), Field installed pull behind hydraulics Hex, 1/2"-13 x 2", G5

1шт.

28

D38914

ROD

- diversion valve control, field installed pull behind hydraulics

1шт.

29

70213

KNOB

- control rod, field installed pull behind hydraulics

1шт.

30

218-5040

ADAPTER

- straight (Male-female), field installed pull behind hydraulics

2шт.

31

D40247

HOSE

- diversion valve to coupling (27" long), field installed pull behind hydraulics, Includes: Ref.#32

2шт.

32

237-6010

O-RING,0.097" Thk x 0.755" ID, -910, Cl 6, 90 Duro

SEAL - "O"ring, field installed pull behind hydraulics

1шт.

33

D38916

FITTING

ELBOW - special (Loader Models only), field installed pull behind hydraulics, Includes: Ref.#34

2шт.

34

237-6010

O-RING,0.097" Thk x 0.755" ID, -910, Cl 6, 90 Duro

SEAL - "O"ring, field installed pull behind hydraulics

1шт.

35

D40249

FITTING

ELBOW - special (Dozer Models only), field installed pull behind hydraulics, Includes: Ref.#36

1шт.

36

237-6010

O-RING,0.097" Thk x 0.755" ID, -910, Cl 6, 90 Duro

SEAL - "O"ring, field installed pull behind hydraulics

1шт.

37

D40250

FITTING

ELBOW - special (Dozer Models only), field installed pull behind hydraulics, Includes: Ref.#38

1шт.

38

237-6010

O-RING,0.097" Thk x 0.755" ID, -910, Cl 6, 90 Duro

SEAL - "O"ring, field installed pull behind hydraulics

1шт.

Выбрано товаров: 0