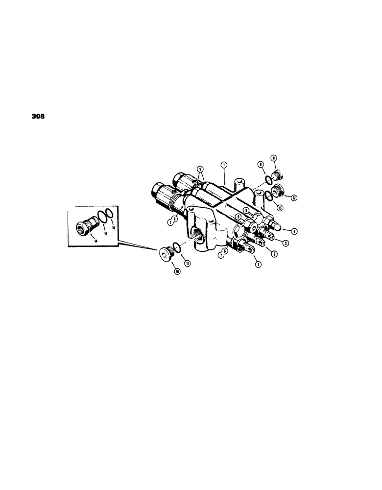
Запчасти Case 450 (308) - D35213 LOADER CONTROL VALVE (3 SPOOL), USED ON MODELS WITHOUT RETURN-TO-DIG FEATURE (07) - HYDRAULIC SYSTEM

Схема запчастей Case 450 - (308) - D35213 LOADER CONTROL VALVE (3 SPOOL), USED ON MODELS WITHOUT RETURN-TO-DIG FEATURE (07) - HYDRAULIC SYSTEM
FIT
1:1
100%

Артикул

Название

Примечание

Количество

1

D35213

VALVE - equipment control, 3 spool (Use D45041 valve for service - parts list Fig. 310), Includes: Ref.#2 - 13

1шт.

2

D37050

SPOOL

- three position (Parts list Fig. 332)

1шт.

2

D37051

SPOOL

- three position (Parts list Fig. 332)

1шт.

2

D37052

SPOOL

- three position (Parts list Fig. 332)

1шт.

2

D37053

SPOOL

- three position (Parts list Fig. 332)

1шт.

3

D37054

SPOOL

- four position (Parts list Fig. 322)

2шт.

3

D37055

SPOOL

- four position (Parts list Fig. 322)

2шт.

3

D37056

SPOOL

- four position (Parts list Fig. 322)

2шт.

3

D37057

SPOOL - four position (Parts list Fig. 322)

2шт.

4

NSS

NOT SOLD SEPARAT

VALVE - main relief (Parts list Fig. 332)

2шт.

5

NSS

NOT SOLD SEPARAT

VALVE - secondary relief (Parts list Fig.330)

3шт.

6

NSS

NOT SOLD SEPARAT

VALVE - check (Parts list Fig. 330) 1 used on models with Logging Fork and Grapple Attachment - 3 used on models without Logging Fork and Grapple Attachment

1-3шт.

7

D39768

VALVE

- secondary relief (Parts list Fig. 328) Used on models Logging Fork and Grapple Attachment only, preset at 1000 P.S.I.

2шт.

8

71100209

PLUG,Hex Soc, 3/4"-16 ORB

Valve port, Incl Ref 9 Hex Soc, 3/4"-16 ORB

1шт.

10

9841223

PLUG,1-1/16" - 12 ORB

Valve port, Incl. Ref 11 Hex Soc, 1 1/16"-12 ORB

1шт.

11

218-5008

O-RING,0.116" Thk x 0.924" ID, -912, Cl 6, 90 Duro

SEAL - "O"ring

1шт.

12

218-5214

PLUG,Hex Soc, 1 5/16"-12 ORB

Valve port, Incl. Ref 13 Hex Soc, 1 5/16"-12 ORB

1шт.

13

218-5010

O-RING,0.116" Thk x 1.171" ID, -916, Cl 6, 90 Duro

SEAL - "O"ring

1шт.

D35401

FITTING

- carry over (Backhoe models only), Includes: Ref.#14 - 16

1шт.

14

NSS

NOT SOLD SEPARAT

FITTING

1шт.

15

218-5010

O-RING,0.116" Thk x 1.171" ID, -916, Cl 6, 90 Duro

SEAL - "O"ring, large

1шт.

16

A25590

O-RING,15" ID x 1 1" OD x 3/32"

SEAL - "O"ring, small

1шт.

9

218-5006

O-RING,0.087" Thk x 0.644" ID, -908, Cl 6, 90 Duro

SEAL - "O"ring

1шт.

Выбрано товаров: 0