Запчасти Case 450 (096) - TRANSMISSION HOUSING AND FRONT COVERS (03) - TRANSMISSION

Схема запчастей Case 450 - (096) - TRANSMISSION HOUSING AND FRONT COVERS (03) - TRANSMISSION
FIT
1:1
100%

Артикул

Название

Примечание

Количество

A54115

TRANSMISSION - Loader Models before Transmission Sn 2791407, see Figures 96 thru 120 for complete transmission

1шт.

A51924

TRANSMISSION - Loader models transmission Sn. 2791408 and after, see Figures 96 thru 120 for complete transmission

1шт.

A54116

NO LONGER SERVICED

TRANSMISSION - Dozer and Drawbar Models before Transmission Sn. 2781294, see Figures 96 thru 120 for complete transmission

1шт.

A51925

TRANSMISSION - Dozer and Drawbar Models transmission Sn. 2791295 and after, see Figures 96 thru 120 for complete transmission

1шт.

A50467

HOUSING

ASSEMBLY - Used transmission Sn.2661238 thru 2791294, Includes: Ref. 1 - 5

1шт.

G35208

HOUSING

ASSEMBLY - Used transmission Sn. 2791295 and after (replaces G35206), Includes: Ref. 1 - 5

1шт.

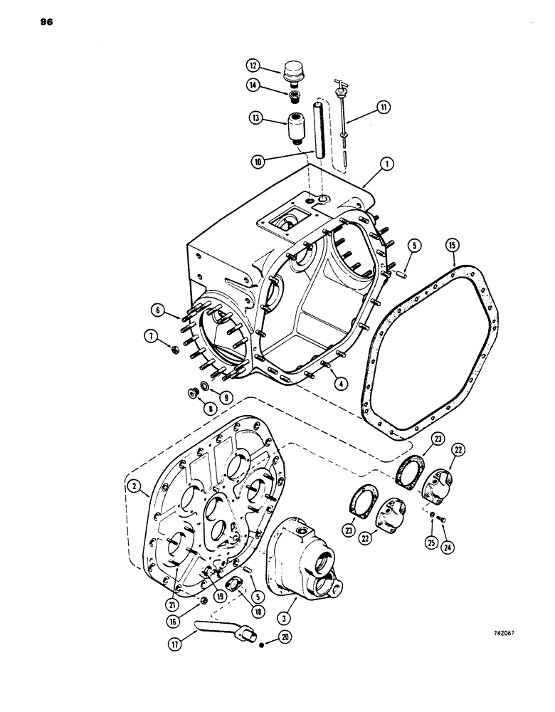
1

NSS

NOT SOLD SEPARAT

HOUSING - transmission

1шт.

2

NSS

NOT SOLD SEPARAT

COVER - housing, front

1шт.

3

NSS

NOT SOLD SEPARAT

HOUSING - two speed shift, parts list Figure 100

1шт.

4

A50249

STUD

- 9/16" - 12 NC x 2-3/8"

19шт.

5

A50247

DOWEL

PIN - 1/2" x 1-1/4"

4шт.

6

G102017

STUD

- 1/2" NC x 3"

30шт.

7

230-4118

LOCK NUT,1/2"-13, GA

30шт.

8

R14777

PLUG

- drain, transmission

1шт.

9

A58613

SEALING WASHER

WASHER - drain plug

1шт.

10

A50018

TUBE

- oil level gauge

1шт.

11

A50225

DIPSTICK

- oil level gauge

1шт.

12

A27173

BREATHER

ASSEMBLY - transmission

1шт.

13

A50116

BAFFLE

- breather

1шт.

14

221-58

BUSHING,Hex, 3/4" x 1/4" NPT

- reducer, 3/4" to 1/4"

1шт.

15

G35334

GASKET

- front, Serial Range: cover-housing

1шт.

16

232-4119

LOCK NUT,9/16"-12, GC

NUT - hex self lock, 9/16" x 12 NC

19шт.

17

A50110

TUBE

- oil suction

1шт.

18

A50109

GASKET

- tube

1шт.

19

A50362

STUD

- 3/8" 16 NC x 1-3/8"

2шт.

20

25-106

NUT,3/8"-16, G5

- hex, 3/8" - 16 NC

2шт.

21

G102126

STUD

- 1/2" - 13 NC x 2-1/8"

8шт.

22

A50057

COVER

- oil inlet, uses 13-618

2шт.

22

G102244

COVER

- oil inlet, uses 13-620

2шт.

23

A50056

GASKET

- front inlet cover

2шт.

24

13-618

BOLT,Hex, 3/8" - 16 x 1-1/8", Gr 5

HHCS - 3/8" - 16 NC x 1-1/4", A50057 cover

8шт.

24

13-620

BOLT,Hex, 3/8" - 16 x 1-1/4", Gr 5, Full Thd

G102244 Hex, 3/8"-16 x 1 1/4", G5, Full Thd

8шт.

25

A22317

WASHER

- mounting bolt, copper

8шт.

Выбрано товаров: 33