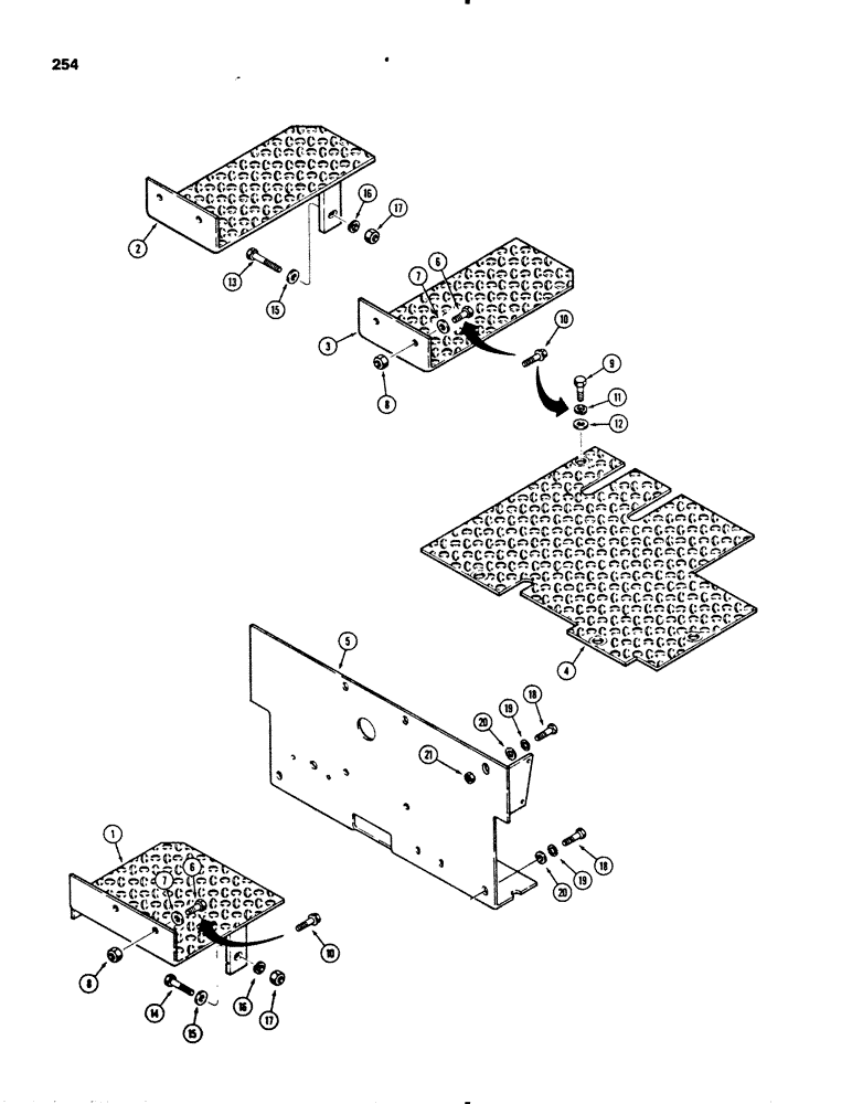
Запчасти Case 450B (254) - FLOOR PLATES (05) - UPPERSTRUCTURE CHASSIS

Схема запчастей Case 450B - (254) - FLOOR PLATES (05) - UPPERSTRUCTURE CHASSIS
FIT
1:1
100%

Артикул

Название

Примечание

Количество

1

R39876

PLATE - right-hand, loader models

1шт.

2

R39879

LARGE PLATE

PLATE - left-hand, dozer and drawbar models

1шт.

3

R39880

LARGE PLATE

PLATE - right-hand, dozer and drawbar models

1шт.

4

R40431

PLATE - front

1шт.

5

R43470

PLATE

- heel

1шт.

6

13-816

BOLT,Hex, 1/2" - 13 x 1", Gr 5, Full Thd

No longer used, services with Ref. #10 only Hex, 1/2"-13 x 1", G5, Full Thd

4шт.

7

92-8

LOCK WASHER,1/2"

no longer used, service with Ref. #10 only 1/2"

4шт.

8

129-105

NUT,Hex, 1/2" - 13, Gr 5

4шт.

9

13-820

BOLT,Hex, 1/2" - 13 x 1-1/4", Gr 5, Full Thd

No longer used, service with Ref. #10 only Hex, 1/2"-13 x 1 1/4", G5, Full Thd

4шт.

10

121-428

FLANGE BOLT,Hex, 1/2" - 13 x 1", Gr 8, Full Thd

BOLT, Hex Flg, 1/2"-13 x 1", G8, Full Thd

8шт.

11

92-8

LOCK WASHER,1/2"

no longer used, service with Ref. #10 only 1/2"

4шт.

12

193-33

LOCK WASHER,9/16"

WASHER - flat, 1/2", no longer used, service with Ref. #10 only

4шт.

13

80087972

BOLT,Hex, 1/2" - 13 x 2 1/2", Gr 5

- hex head, 1/2" -13 NC x 2-1/2", plated

1шт.

14

113-412

BOLT,Hex, 1/2" - 13 x 1-3/4", Gr 5

1шт.

15

195-533

WASHER,1/2", SAE

- flat, 1/2", plated

2шт.

16

92-8

LOCK WASHER,1/2"

2шт.

17

129-105

NUT,Hex, 1/2" - 13, Gr 5

2шт.

18

113-410

BOLT,Hex, 1/2" - 13 x 1-1/2", Gr 5, Full Thd

3шт.

19

92-8

LOCK WASHER,1/2"

3шт.

20

195-533

WASHER,1/2", SAE

- flat, 1/2", plated

4шт.

21

129-105

NUT,Hex, 1/2" - 13, Gr 5

1шт.

Выбрано товаров: 21