Запчасти Case 450B (258) - SEAT AND SEAT BELT (05) - UPPERSTRUCTURE CHASSIS

Схема запчастей Case 450B - (258) - SEAT AND SEAT BELT (05) - UPPERSTRUCTURE CHASSIS
FIT
1:1
100%

Артикул

Название

Примечание

Количество

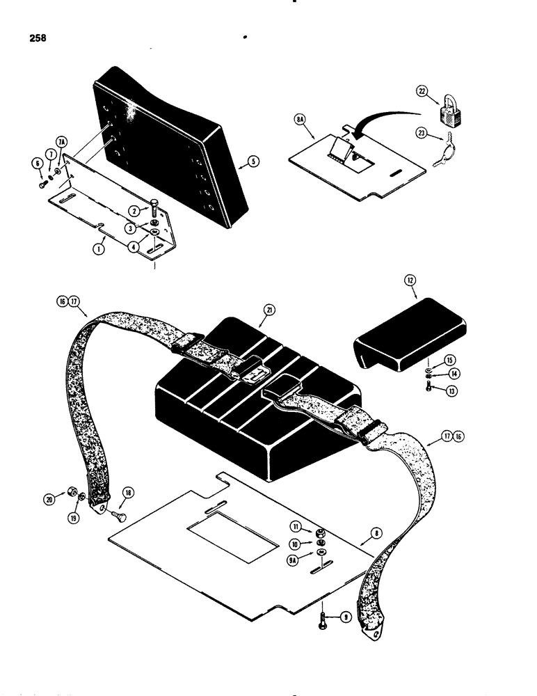
1

R40744

ANGLE

PLATE - back rest

1шт.

2

113-424

BOLT,Hex, 1/2" - 13 x 1", Gr 5, Full Thd

2шт.

3

92-8

LOCK WASHER,1/2"

2шт.

4

195-533

WASHER,1/2", SAE

- flat, 1/2", plated

2шт.

5

D44169

CUSHION

BACKREST - black, if used

1шт.

5

R48486

CUSHION

BACKREST - brown, if used

1шт.

6

113-207

BOLT,Hex, 3/8" - 16 x 1", Gr 5

4шт.

7

92-6

LOCK WASHER,3/8"

4шт.

7a

195-525

WASHER,3/8", SAE

- flat, 3/8", plated

4шт.

8

R40265

OIL RESERVOIR

PLATE - used without lockup option, for pad see Fig. 266, Ref. # 8

1шт.

8a

R42380

PANEL

PLATE - used with lockup option

1шт.

9

113-424

BOLT,Hex, 1/2" - 13 x 1", Gr 5, Full Thd

2шт.

9a

195-533

WASHER,1/2", SAE

- flat, 1/2", plated

2шт.

10

192-23

LOCK WASHER,1/2"

WASHER, LOCK, 1/2"

2шт.

11

129-105

NUT,Hex, 1/2" - 13, Gr 5

2шт.

12

R39322

CUSHION

ARMREST - black, if used

2шт.

12

R48420

ARMREST

- brown, if used

1шт.

13

113-103

BOLT,Hex, 5/16" - 18 x 1", Gr 5

4шт.

14

192-20

LOCK WASHER,Helical Spring, 0.318" ID, CST, ZND

WASHER, LOCK, 5/16"

4шт.

15

195-521

WASHER,5/16", SAE

- flat, 5/16", plated

4шт.

16

R39063

SAFETY BELT

SAFETY BELT, 2" (51 mm) wide

1шт.

17

R36488

SAFETY BELT

SAFETY BELT, 3" (76 mm) wide

1шт.

18

F42236

STEP BOLT

BOLT - special

2шт.

19

192-22

LOCK WASHER,7/16"

WASHER, LOCK, 7/16"

2шт.

20

425-117

NUT,7/16"-20, G5

- hex, 7/16" -20 NF, plated

2шт.

21

R39323

CUSHION

- seat, black, if used

1шт.

21

R48423

CUSHION

- seat, brown, if used

1шт.

22

D93753

PADLOCK

- on plate, for transmission oil dipstick, if used, Includes: Ref. 23

1шт.

23

R29555

KEY

- for Master padlock only

2шт.

23

D93751

SET OF 2 KEYS

KEY - for Yale padlock only

2шт.

Выбрано товаров: 30