Запчасти Case 450B (065A) - INSTRUMENT PANEL LOCKUP PARTS (06) - ELECTRICAL SYSTEMS

Схема запчастей Case 450B - (065A) - INSTRUMENT PANEL LOCKUP PARTS (06) - ELECTRICAL SYSTEMS
FIT
1:1
100%

Артикул

Название

Примечание

Количество

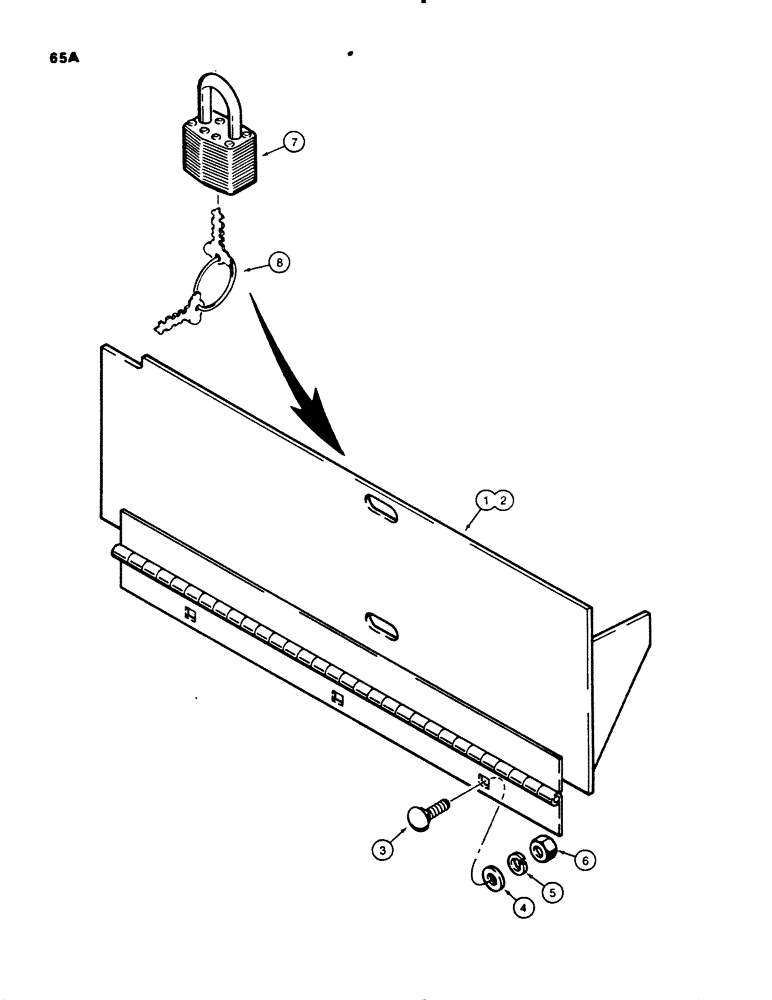
1

R40685

COVER - instrument panel, dozer models

1шт.

2

R40469

COVER

- instrument panel, loader models

1шт.

3

A42923

CARRIAGE BOLT

BOLT - special

3шт.

4

195-21

WASHER,5/16"

- flat, 5/16"

3шт.

5

92-5

LOCK WASHER,5/16"

3шт.

6

9635082

NUT,5/16" - 18, Gr 5

- hex, 5/16"-18 NC

3шт.

7

D93753

PADLOCK

- instrument panel cover, Includes: Ref. #8, if used

1шт.

8

R29555

KEY

- for Master padlock only

2шт.

8

D93751

SET OF 2 KEYS

KEY - for Yale padlock only

2шт.

Выбрано товаров: 9