Запчасти Case 450B (234) - RIPPER (18) - ATTACHMENT ACCESSORIES

Схема запчастей Case 450B - (234) - RIPPER (18) - ATTACHMENT ACCESSORIES
FIT
1:1
100%

Артикул

Название

Примечание

Количество

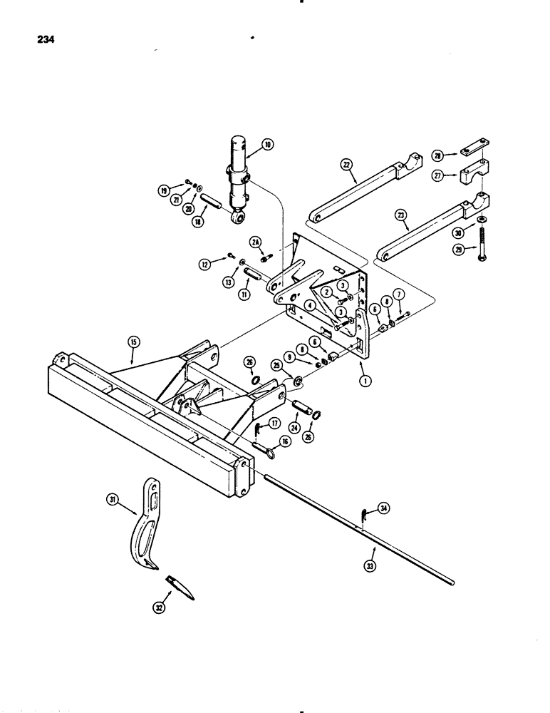
1

R35936

PLATE

- mounting

1шт.

2

13-1220

BOLT,Hex, 3/4" - 10 x 1-1/4", Gr 5

- hex, 3/4" -10 NC x 1-1/2"

4шт.

2a

166-131

BOLT,12 Pt Flg, 3/4"-10 x 1 1/4", G8

- ferry head, 3/4" -10 NC x 1-1/4"

2шт.

3

D34666

WASHER,33.34mm ID x 63.5mm OD x 2.38mm Thk

- heat treated, 3/4"

8шт.

4

13-1236

BOLT,Hex, 3/4" - 10 x 2-1/4", Gr 5

- hex, 3/4" -10 NC x 2-1/2"

4шт.

6

D34678

BLOCK

- wedge

4шт.

7

13-836

BOLT,Hex, 1/2" - 13 x 2-1/4", Gr 5

- hex, 1/2" -13 NC x 2-1/4"

2шт.

8

D34705

WASHER

- special, 1/2"

4шт.

9

131-654

LOCK NUT,1/2"-13, GB

NUT - hex, self lock, 1/2" -13 NC

2шт.

10

REF

INSTRUCTION

CYLINDER - ripper, see Fig. 194

1шт.

11

D34706

PIN,31.75mm OD x 60.33mm L

- trunnion

2шт.

12

13-1016

BOLT,Hex, 5/8" - 11 x 1", Gr 5, Full Thd

2шт.

13

70523

WASHER,16.67mm ID x 47.63mm OD x 6.35mm Thk

- special

2шт.

15

D35886

FRAME

- ripper

1шт.

16

D34715

PIN

- latch

1шт.

17

136-112

PIN

- hair, latch pin

1шт.

18

D36174

AXLE PIN,31.75mm OD x 123.83mm L

PIN - cylinder attatching

1шт.

19

13-812

BOLT,Hex, 1/2" - 13 x 3/4", Gr 5

- hex, 1/2" -13 NC x 3/4"

2шт.

20

D25022

WASHER

- special

2шт.

21

92-8

LOCK WASHER,1/2"

2шт.

22

D34743

ARM

- LH, loader models only

1шт.

22

D34693

ARM - LH, dozer models only

1шт.

23

D34744

ARM - RH, loader models only

1шт.

23

D34694

ARM

- RH, loader models only

1шт.

24

D36614

PIN,38.1mm OD x 107.95mm L

- attatching, ripper frame to mounting arms

2шт.

25

R15389

SPACER

- mounting pin

2шт.

26

D26918

SNAP RING,#125, Ext

Ring, Snap, , mounting pin #125, Ext

4шт.

27

D34663

CLAMP

- mounting arm

2шт.

28

D34722

BLOCK

- tapped

2шт.

29

413-14120

BOLT,Hex, 7/8" - 9 x 7-1/2", Gr 5

- hex, 7/8" -9 NC x 7-1/2"

4шт.

30

D34667

WASHER,23.02mm ID x 38.1mm OD x 3.57mm Thk

- special

4шт.

31

D35885

SHANK

- tooth, ripper

3шт.

32

R33815

POINT

TOOTH - ripper

3шт.

33

D35900

ROD

- attatching, ripper teeth

1шт.

34

136-112

PIN

- hair pin

2шт.

Выбрано товаров: 35