Запчасти Case 450B (051C) - INJECTOR NOZZLES, 207 TURBOCHARGED DIESEL ENGINE (02) - FUEL SYSTEM

Схема запчастей Case 450B - (051C) - INJECTOR NOZZLES, 207 TURBOCHARGED DIESEL ENGINE (02) - FUEL SYSTEM
FIT
1:1
100%

Артикул

Название

Примечание

Количество

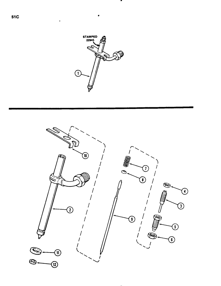
1

A51987

NOZZLE INJECTION

NOZZLE ASSEMBLY - injector, color code white and red, stamped 22945, Includes: Ref. #s 2 - 12

4шт.

2

NSS

NOT SOLD SEPARAT

BODY - nozzle

1шт.

3

A43599

ADJUSTMENT SCREW,#10 - 56 x 1.39"

SCREW - lift adjusting

1шт.

4

A43602

NUT

- lock, lift adjusting screw

1шт.

5

A43600

ADJUSTMENT SCREW,#10 - 56 x 0.68"

SCREW - pressure adjusting

1шт.

6

A42424

LOCK NUT

- lock, pressure adjusting screw

1шт.

7

A43733

SPRING

SCREW - pressure adjusting, 9/16" free length (14 mm)

1шт.

8

A44369

SEAT

- pressure adjusting spring

1шт.

9

NSS

NOT SOLD SEPARAT

VALVE - nozzle

1шт.

10

A43506

PLATE ASSY.

PLATE - nozzle holder

1шт.

11

A41403

WASHER,9.55mm ID x 14.18mm OD x 3.38mm Thk

- nozzle body

1шт.

12

A41402

SEAL,7.89mm ID x 9.74mm OD x 2.87mm Thk

- carbon stop

1шт.

A154542

NOZZLE CAP

green and white

1шт.

A154542R

REMAN-FUEL INJECTOR

450B, 455B

1шт.

A154542C

CORE-FUEL INJECTOR

Return Number

1шт.

Выбрано товаров: 15