Запчасти Case 450C (6-62) - TRANSMISSION CONTROL VALVE ASSEMBLY, USED ON P.I.N. GBE 0001501 AND AFTER (06) - POWER TRAIN

Схема запчастей Case 450C - (6-62) - TRANSMISSION CONTROL VALVE ASSEMBLY, USED ON P.I.N. GBE 0001501 AND AFTER (06) - POWER TRAIN
FIT
1:1
100%

Артикул

Название

Примечание

Количество

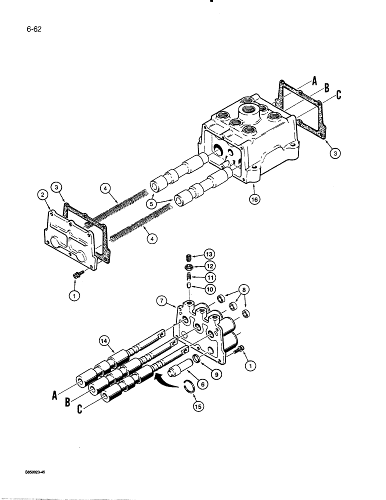
G107058

VALVE

CONTROL VALVE ASSEMBLY - transmission, Includes: Ref. 1 - 16

1шт.

1

193-511

HEX SOC SCREW,Sems, 1/4"-28 x 5/8"

CAP SCREW - socket head, with external tooth lock washer, 1/4" - 28 NF x 2-5/8"

11шт.

2

R21384

COVER

- rear

1шт.

3

35665

GASKET

- covers

2шт.

4

71125

SPRING

- clutch cutout spool

2шт.

5

G106650

SPOOL

- clutch cutout

2шт.

6

G105434

PISTON

- clutch cutout

2шт.

G105429

COVER

ASSEMBLY - front, Includes: Ref. 7 - 9

1шт.

7

NSS

NOT SOLD SEPARAT

COVER - front

1шт.

8

G105700

OIL SEAL

- shift spool, double lip

3шт.

9

G105439

SEALING RING

- clutch cutout piston, square section

2шт.

See 550 parts catalog for O-rings used in place of item 9. Applies when cover P/N 1343694C1 is used.

1шт.

10

71120

VALVE

POPPET - spool detent

3шт.

11

71119

SPRING

- poppet, detent

3шт.

12

131-407

LOCK NUT,Pal, 3/8" - 16, 0.145" High

NUT - hex, self-locking, 3/8"-16 NC

3шт.

13

G104208

SET SCREW

- hex socket, oval point, 3/8" - 16 NC x 1/2", sealant coated

3шт.

14

G107659

ROD

SPOOL ASSEMBLY - shift, Includes: Ref. 15

3шт.

15

G107637

RING, SNAP

RETAINING RING - shift spool

1шт.

16

NSS

NOT SOLD SEPARAT

BODY - control valve

1шт.

Выбрано товаров: 19