Запчасти Case 455C (9-04) - LOADER LIFT FRAME, BUCKET TILT CYLINDERS AND LINKS (09) - CHASSIS/ATTACHMENTS

Схема запчастей Case 455C - (9-04) - LOADER LIFT FRAME, BUCKET TILT CYLINDERS AND LINKS (09) - CHASSIS/ATTACHMENTS
FIT
1:1
100%

Артикул

Название

Примечание

Количество

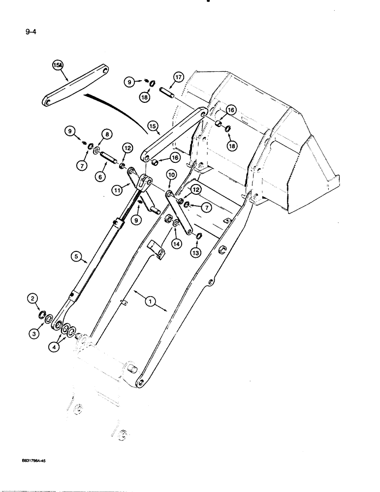
1

R48018

ARM, LIFT

FRAME - loader lift, for bushings see Fig. 9-02

1шт.

2

H746651

SNAP RING,#262, Ext

Ring, Snap, , bucket cylinder #262, Ext

2шт.

3

L57486

BLOCK

WASHER - bucket cylinder, outer

2шт.

4

L46020

WASHER

- bucket cylinder, inner

4шт.

5

G106630

CYLINDER ASSY.

CYLINDER - bucket tilt, parts list Fig. 8-40

2шт.

6

D40039

PIN

- bucket cylinder to bucket lever

2шт.

7

D25280

SNAP RING,#175, Ext

Ring, Snap, , pin #175, Ext

4шт.

8

D62194

WASHER

- bucket cylinder pin, outer

2шт.

9

219-1

LUBE NIPPLE,1/8" - 27 NPTF

GREASE FITTING - straight, 1/8" NPT

6шт.

10

R48023

LEVER

- bucket cylinder to lift frame, inner

2шт.

11

R48027

ARM, LIFT

LEVER - bucket cylinder to lift frame, outer

2шт.

12

G33858

BUSHING,44.68mm ID x 53.98mm OD x 15.88mm L

- R48023 and R48027 bucket cylinder levers

1шт.

13

D25280

SNAP RING,#175, Ext

Ring, Snap, , lever pin #175, Ext

2шт.

14

A35346

SHIM,.0598" Thk

Bucket lever, Inner side of loader lift frame .0598" Thk

1шт.

15

R48025

LINK

- bucket, no longer available, order Ref. 15A link

2шт.

15a

R56134

LINK

- bucket, Includes: Ref. 16

2шт.

16

D34354

BUSHING,44.68mm ID x 53.98mm OD x 38.1mm L

- R48025 or R56134 bucket link

2шт.

17

D34658

PIN,44.45mm OD x 101.6mm L

- bucket to bucket link

2шт.

18

D25280

SNAP RING,#175, Ext

Ring, Snap, , pin #175, Ext

4шт.

Выбрано товаров: 19