Запчасти Case 310D (056) - SIDE PLATE, PIVOT BAR, AND DRAWBAR GUIDE (04) - UNDERCARRIAGE

Схема запчастей Case 310D - (056) - SIDE PLATE, PIVOT BAR, AND DRAWBAR GUIDE (04) - UNDERCARRIAGE
FIT
1:1
100%

Артикул

Название

Примечание

Количество

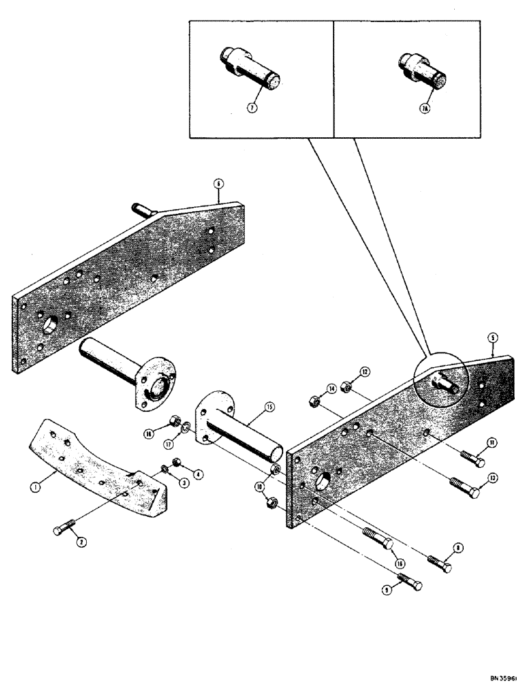
1

13103

GUIDE - drawbar, 48" gauge and wider tractors

1шт.

32662

RICE TOOTH

GUIDE - drawbar, 36" gauge tractor

1шт.

32419

GUIDE - drawbar, 42" gauge tractor

1шт.

2

14-1032

BOLT,Hex, 5/8" - 18 x 2", Gr 5

(42" gauge and wider tractors) Hex, 5/8"-18 x 2", G5

4шт.

3

92-10

LOCK WASHER,5/8"

WASHER, LOCK, 5/8"

4шт.

4

25-1110

NUT,5/8"-18, G5

- hex. (5/8 - 18 NF)

4шт.

2

14-1232

BOLT,Hex, 3/4" - 16 x 2", Gr 5

HHCS - 3/4 - 16 NF x 2 (36" gauge tractor)

2шт.

3

92-12

LOCK WASHER,3/4"

WASHER, LOCK, 3/4"

2шт.

4

25-1112

NUT,3/4"-16, G5

- hex. (3/4 - 16 NF)

2шт.

5

D25523

PLATE - side, R.H. (42" gauge and wider tractors)

1шт.

6

D25524

PLATE - side, L.H. (42" gauge and wider tractors)

1шт.

7

D25531

STUD - pivot, leaf spring bracket (4" long) See D29032

1шт.

7a

D29032

STUD - pivot, leaf spring bracket (3-9/16" long) See D25531

1шт.

D25107

PLATE - side, rigid track (Backhoe models only) Not shown

2шт.

D25328

PLATE - side, 36" gauge tractor (Not shown)

2шт.

14-1032

BOLT,Hex, 5/8" - 18 x 2", Gr 5

(36" gauge tractor) Hex, 5/8"-18 x 2", G5

10шт.

92-10

LOCK WASHER,5/8"

WASHER, LOCK, 5/8"

10шт.

25-1110

NUT,5/8"-18, G5

- hex. (5/8 - 18 NF)

10шт.

8

14-1040

BOLT,Hex, 5/8" - 18 x 2-1/2", Gr 5

HHCS - 5/8 - 18 NF x 2-1/2

2шт.

9

33046

BOLT - body (5/8" - 18 NF x 2-1/2")

4шт.

10

231-46110

LOCK NUT,5/8"-18, GB

NUT - lock (5/8" - 18 NF)

6шт.

11

14-1244

BOLT,Hex, 3/4" - 16 x 2-3/4", Gr 5

HHCS - 3/4 - 16 NF x 2-3/4

2шт.

12

231-46112

LOCK NUT,3/4"-16, GB

NUT - lock (3/4" - 16 NF)

2шт.

13

33047

BOLT,Hex, 1" - 14 x 3 3/32"

- body (1" - 14 NF x 3-3/32")

4шт.

14

232-46116

LOCK NUT,1"-14, GC

BODY - lock (1" - 14 NF)

4шт.

15

D27542

BAR - pivot

2шт.

16

14-1240

BOLT,Hex, 3/4" - 16 x 2-1/2", Gr 5

HHCS - 3/4 - 16 NF x 2-1/2

6шт.

17

92-12

LOCK WASHER,3/4"

WASHER, LOCK, 3/4"

6шт.

18

25-1112

NUT,3/4"-16, G5

- hex. (3/4 - 16 NF)

6шт.

NLS

NO LONGER SERVICED

SPACER - rear, 36" gauge tractor (Not shown)

2шт.

32700

SPACER - front, 36" gauge tractor (Not shown)

2шт.

Выбрано товаров: 31