Запчасти Case 310E (011) - GOVERNOR LINKAGE - GAS (01) - ENGINE

Схема запчастей Case 310E - (011) - GOVERNOR LINKAGE - GAS (01) - ENGINE
11
8
4
3
10
1
9
14
2
5
7
12
6
13
FIT
1:1
100%

Артикул

Название

Примечание

Количество

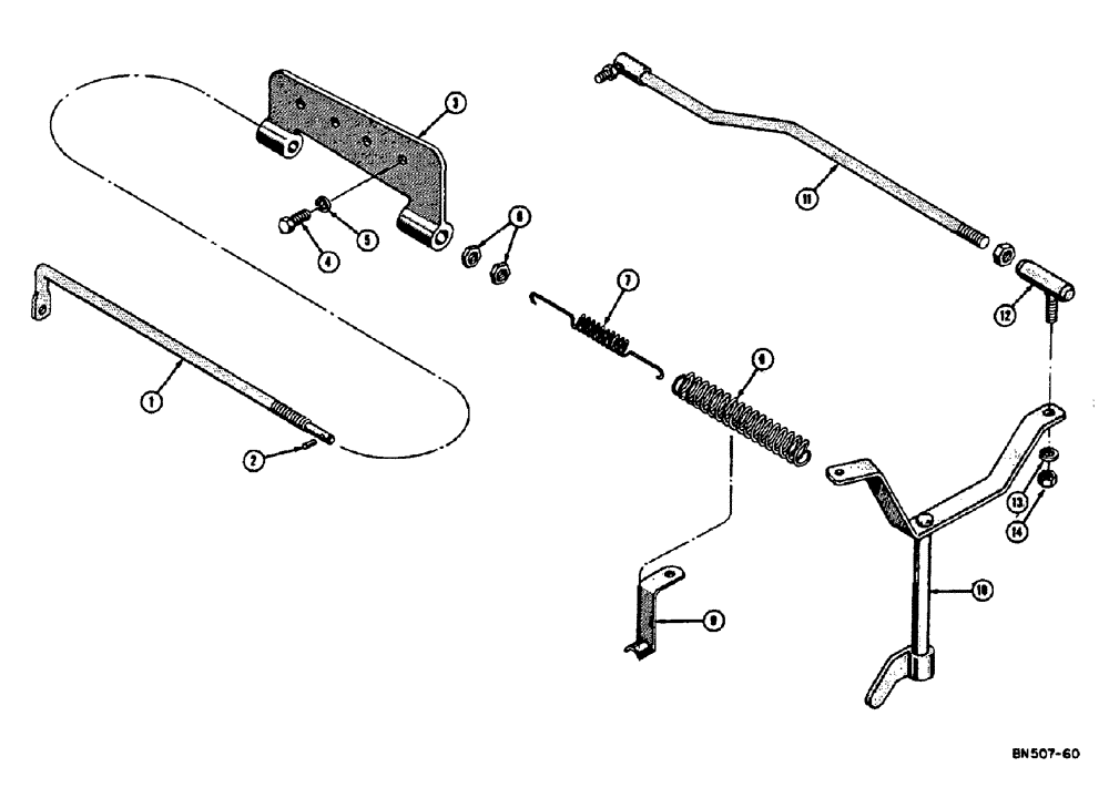
1

G11369

ROD - governor control

1шт.

2

138-51

LOCK PIN,1/8" x 3/8", Slotted

PIN, 1/8" x 3/8", Slotted

1шт.

3

G2133

GUIDE

- governor control rod

1шт.

4

113-103

BOLT,Hex, 5/16" - 18 x 1", Gr 5

2шт.

5

192-20

LOCK WASHER,Helical Spring, 0.318" ID, CST, ZND

WASHER, LOCK, 5/16"

2шт.

6

131-412

NUT - adjusting governor rod (7/16" - 20 NC) Palnut

2шт.

7

G48510

X

SPRING - governor speed control inner

1шт.

8

G48511

SPRING

- governor speed control outer

1шт.

9

VT5569

DAMPER - governor spring

1шт.

10

VTA850

X

LEVER - governor

1шт.

11

G45222

ROD

- throttle governor arm to carburetor, Includes: Ref. 12

1шт.

12

G45711

X

SOCKET - throttle rod

1шт.

13

92-4

LOCK WASHER,1/4"

WASHER, LOCK, 1/4"

2шт.

14

25-114

NUT,1/4"-28, G5

- hex (1/4" - 28 NF)

2шт.

Выбрано товаров: 14