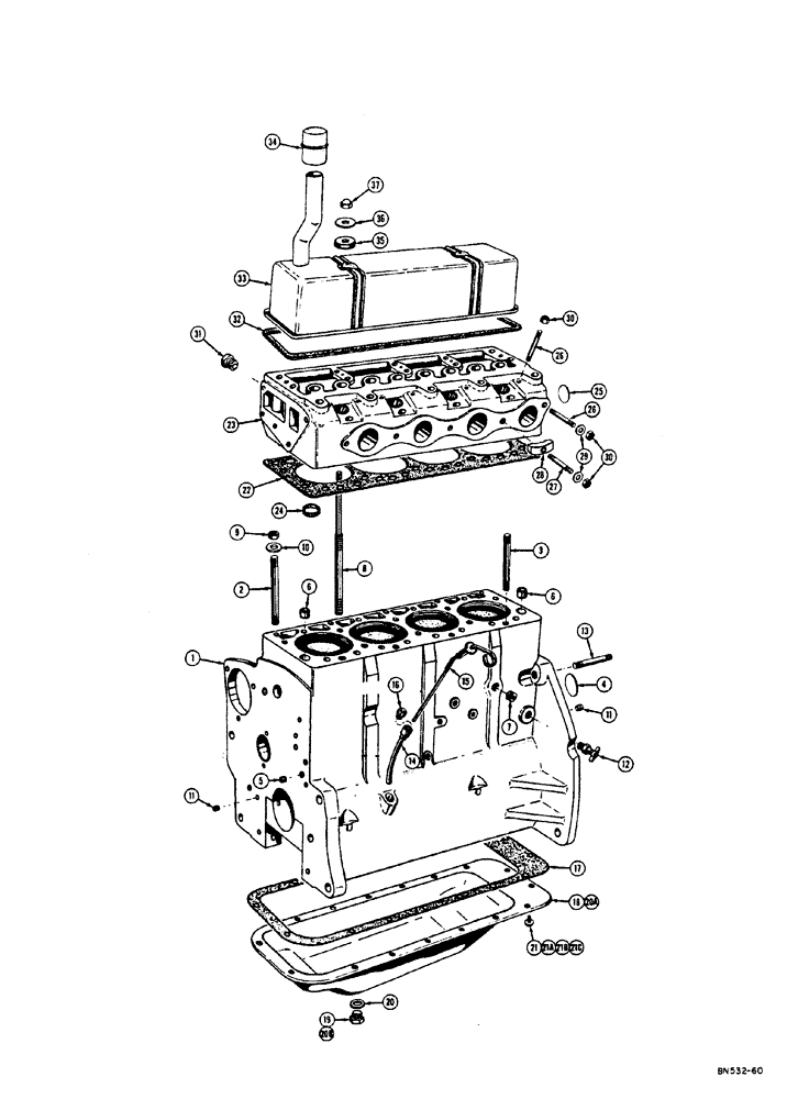
Запчасти Case 310E (019) - ENGINE BLOCK AND RELATED PARTS - DIESEL (01) - ENGINE

Схема запчастей Case 310E - (019) - ENGINE BLOCK AND RELATED PARTS - DIESEL (01) - ENGINE
16
11
1
23
9
2
14
20
4
30
7
34
35
21a
19
6
25
20b
30
6
12
21
22
29
13
8
32
17
15
27
21c
26
31
20a
21b
11
28
26
3
33
18
36
37
24
5
10
FIT
1:1
100%

Артикул

Название

Примечание

Количество

G10509

STRIPPED BLOCK - includes stripped block, cylinder liners, packings, pistons, rings, crankshaft, gear cover assy, camshaft,front end plate,timing gears,filler blocks,studs,nuts,screws,washers,plugs,lockwires,head, oilpump,conn.rods,&sleeves (see G11933)

1шт.

G11933

STRIPPED BLOCK - includes block, Hubbard plugs, bearing caps, screws, pins, washers, studs, oil gauge, rod support, plug spacers, main bearings, lockwires, copper washers, camshaft bearings and gaskets (See G10509), Includes: Ref. 2 - 7

1шт.

G2126

CAP

- bearing crankshaft front (Not shown see figure 20)

1шт.

G2127

CAP

- bearing crankshaft center (Not shown see figure 20)

1шт.

G2128

CAP

- bearing crankshaft intermediate (Not shown see figure 20)

2шт.

G2129

CAP

- bearing crankshaft rear (Not shown see figure 20)

1шт.

G49077

BOLT

- place oil pump and front bearing cap (1/2" x 5-1/8") not shown see figure 20

2шт.

G49078

BOLT - place bearing cap (1/2" x 4-1/2") not shown see figure 20

8шт.

G11936

BUSHING - camshaft (Set of 5) not shown see figure 29

1шт.

2

G49507

X

STUD - cylinder head (1/2" x 5-5/8")

11шт.

G49512

STUD - cylinder head (1/2" x 6")

2шт.

3

G49506

STUD - cylinder head (1/2" x 4")

4шт.

4

VT3398

X

PLUG - rear Hubbard (2-1/8" dia.)

1шт.

5

G49070

PLUG

- drilled pipe front of block (1/4")

1шт.

6

G49608

RING

- dowel top of block

2шт.

7

221-32

PLUG,Sq Soc, 3/8"-18 NPTF

- pipe countersunk square head (3/8" NPT)

1шт.

8

G49511

STUD

- valve cover

2шт.

9

VT3361

X

NUT - cylinder head stud

19шт.

10

G49404

WASHER

- cylinder head stud

19шт.

11

VT3395

X

PLUG - pipe hex socket head (1/4" NPT)

2шт.

12

VT2784

X

DRAIN COCK - engine block (When stock is exhausted order 217-103)

1шт.

217-103

COCK, DRAIN

COCK drain - engine block (See VT2784)

1шт.

13

VT3531

X

STUD - engine to clutch housing (5/8" x 3")

2шт.

14

G45139

BRACKET

SUPPORT - dipstick

1шт.

15

G37037

DIPSTICK

- oil level, Includes: Ref. 16

1шт.

16

G46892

OIL SEAL

- rubber dipstick

1шт.

17

G11951

X

GASKET - set oil pan

1шт.

18

G11901

PAN - oil (Used up to engine serial #613T08011) use G37078, Includes: Ref. 19 and 20

1шт.

19

VT4521

X

PLUG - drain oil pan (7/8" NF thread)

1шт.

20

VT4520

X

GASKET - VT4521 drain plug

1шт.

20a

G37078

PAN - oil (Used on engine serial #613T08011 and after) see G11901, Includes: Ref. 20B

1шт.

2ob

G45786

PLUG

- drain oil pan (3/8" NPT) includes gasket

1шт.

21

193-514

SCREW,SEMS, Hex Hd, 5/16"-18 x 3/4"

BOLT - attaching oil pan (Used up to engine serial #613TO5746) see 13-512, 193-29, 95-5 and 195-21

18шт.

21a

13-512

BOLT,Hex, 5/16" - 18 x 3/4", Gr 5

(Used on engine S/N 613TO-5746 and after) see 193-514 Hex, 5/16"-18 x 3/4", G5, Full Thd

18шт.

21b

193-29

LOCK WASHER,Int Tooth, 5/16"

WASHER, LOCK, , Used on engine S/N 613TO5746 and after (See 193-514) Int Tooth, 5/16"

18шт.

21c

195-21

WASHER,5/16"

- plain, Oil pan front corners (11/32" I.D. x 11/16" O.D. x 5/64" thk) used on engine s

2шт.

95-5

WASHER,3/8" x 7/8" x .083"

- standard wrot all oil pan bolts except front corners (3/8" I.D. x 7/8" O.D. x 5/64" thick) used on engine sserial #613T05746 and after (See 195-514)

16шт.

22

G46865

X

GASKET - head to block (Early production) use A35196

1шт.

G46906

X

GASKET - head to block (Intermediate production - used up to engine serial #2002827) use A35196

1шт.

A35196

X

GASKET - head to block (Late production - used on engine serial #2002827 and after)

1шт.

23

G11908

HEAD - cylinder, Includes: Ref. 24 - 27

1шт.

G49083

BOLT

- special drilled (Not shown see figure 21)

1шт.

193-77

LOCK WASHER,Int Tooth, 1/2"

WASHER, LOCK, (Not shown see figure 21) Int Tooth, 1/2"

1шт.

G11724

LINER

- nozzle holder (Not shown see figure 27)

4шт.

G11945

GUIDE

S - intake valve stem (Set of 4) not shown see figure 21

1шт.

G11946

GUIDE

S - exhaust valve stem (Set of 4) not shown see figure 21

1шт.

24

G11986

KIT

INSERTS - exhaust valve seat (Set of 4)

1шт.

25

VT3479

X

PLUG - Welch (1-3/4" dia.)

1шт.

26

VT4510

X

STUD - nozzle holder and manifold (3/8" x 1-3/4")

12шт.

27

G11254

X

STUD - manifold to head (3/8" x 2-7/16") used up to engine serial #2002985 (See A35175 and G11739

6шт.

A35175

STUD

- manifold to head (Used on engine serial #2002985 and after) see G11254

6шт.

28

G11739

X

CLAMP - manifold (Used up to engine serial #2002985) use A35028 and A35175

6шт.

A35028

CLAMP

- manifold (Used on engine serial #2002985 and after) see G11739

6шт.

29

195-25

WASHER,3/8"

- plain exhaust manifold (13/32" I.D x 13/16" O.D. x 5/64" thick)

7шт.

92-6

LOCK WASHER,3/8"

med. sec., intake manifold 3/8"

5шт.

30

VT3362

X

NUT - hex brass exhaust manifold (3/8" - 16 NC) used up to engine serial #2002877 (Use 131-903)

7шт.

131-903

NUT,3/8"-16

NUT - seez-pruf exhaust manifold (3/8" - 16 NC) used on engine serial #2002877 and after (See VT33

7шт.

25-106

NUT,3/8"-16, G5

- hex intake manifold (3/8" - 16 NC)

5шт.

31

D26015

FITTING

ADAPTER - temperature gauge heat bulb

1шт.

32

G46866

GASKET

- valve, Serial Range: cover-head

1шт.

33

G11997

COVER - valve

1шт.

34

VT3545

X

CAP - oil filler and breather

1шт.

35

G46867

GROMMET

- rubber valve cover stud

2шт.

36

G49400

WASHER

- valve cover stud (13/32" I.D. x 1-5/32" O.D. x 9/64" thick)

2шт.

25-106

NUT,3/8"-16, G5

- hex valve cover stud (3/8" - 16 NC) Used on engine serial #2002289 and after (See 129-520)

2шт.

37

129-520

NUT,Crown, 3/8"-16

- cap valve cover stud (3/8" - 16 NC) used up to engine serial #2002269 (Use 25-106)

2шт.

Выбрано товаров: 66