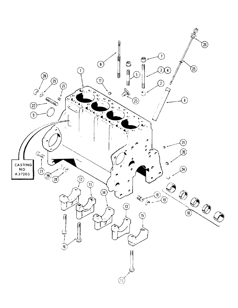
Запчасти Case 310G (029C) - CYLINDER BLOCK ASSEMBLY, (188) DIESEL ENGINE, CASTING NO. A37205 (01) - ENGINE

Схема запчастей Case 310G - (029C) - CYLINDER BLOCK ASSEMBLY, (188) DIESEL ENGINE, CASTING NO. A37205 (01) - ENGINE
FIT
1:1
100%

Артикул

Название

Примечание

Количество

A40592

SHORT BLOCK ASSY - (Casting no. A37205) (Includes stripped block, crankshaft & bearings, camshaft & gear, pistons & sleeves, connecting rods and oil pump), Includes: Ref. 1 - 29

1шт.

1

A40818

BLOCK ASSY - stripped (Casting no. A37205) (Order A41597 from figure 29E), Includes: Ref. 2 - 21

1шт.

2

G49608

RING

- dowel, Serial Range: head-block

2шт.

3

A36902

STUD

- head to block (1/2" N.C. x 5-5/8")

11шт.

4

A36905

STUD

- head to block (1/2" N.C. x 6-1/8")

2шт.

5

A36904

STUD

- head to block (1/2" N.C. x 4")

4шт.

6

A36903

STUD

- head & cover

2шт.

7

A37030

FLANGE NUT

- flanged, head stud

19шт.

8

A37149

TUBE

- oil filler & dipstick

1шт.

9

A39241

PLUG,Exp, 2.12" dia

- camshaft hole (2-1/8" expansion type)

1шт.

10

A42746

CAM

BUSHING SET - camshaft

1шт.

11

221-1032

DRAIN PLUG,Sq Soc, 3/8"-18 NPTF

PLUG - heater hole (3/8" P.T.)

1шт.

12

A38385

CAP

- rear main bearing

1шт.

13

G2128

CAP

- intermediate main bearing

2шт.

14

G2127

CAP

- center main bearing

1шт.

15

G2126

CAP

- front main bearing

1шт.

16

113-444

BOLT

- bearing cap (1/2 x 4-1/2" N.C. hex.)

8шт.

17

113-445

BOLT

- frt. brg. cap & oil pump (1/2 x 5-1/8" N.C. hex.)

2шт.

18

A153552

ADAPTER

- oil filler

1шт.

19

41-1016

PLUG,Cup, 1"

- adapter opening (1" cup type)

1шт.

20

G49070

PLUG

- drilled, oil gallery front

1шт.

21

217-433

PLUG,Hex Soc, 1/4" - 18 NPTF

Oil gallery Hex Soc, 1/4"-18 NPTF

2шт.

22

A29363

STUD

- clutch housing

2шт.

23

A23656

COCK, DRAIN

VALVE - drain, 1/4" P.T.

1шт.

24

A29442

RING

- dowel, front, Serial Range: cover-block

2шт.

25

A37148

DIPSTICK

- oil level, Includes: Ref. 26

1шт.

26

F62075

O-RING,0.139" Thk x 0.734" ID, -210, Cl 5, 75 Duro

"O" RING - seal (3/4 x 1 x 1/8")

2шт.

27

A30129

BOLT

- clutch housing (5/8 x 2-3/4" N.F. hex.)

2шт.

28

25-1110

NUT,5/8"-18, G5

- 5/8" N.F. hex.

4шт.

29

92-10

LOCK WASHER,5/8"

WASHER, LOCK, 5/8"

4шт.

Выбрано товаров: 30