Запчасти Case 310G (206[1]) - EQUIPMENT CONTROL VALVES AND LEVERS (TWO SPOOL) (07) - HYDRAULIC SYSTEM

Схема запчастей Case 310G - (206[1]) - EQUIPMENT CONTROL VALVES AND LEVERS (TWO SPOOL) (07) - HYDRAULIC SYSTEM
FIT
1:1
100%

Артикул

Название

Примечание

Количество

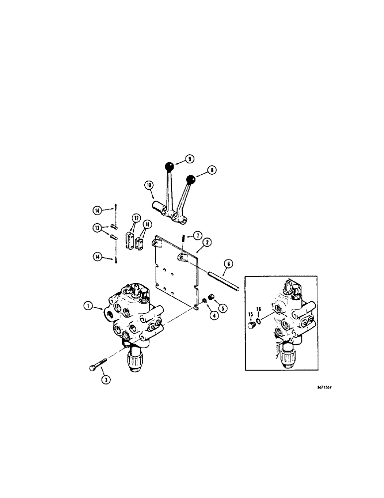
1

D38114

VALVE - two spool (Drawbar models with or without three point hitch, ripper and pull behind hydraulics, power tilt or angling dozer with or without diversion valve) Parts list figure 254 (Use D45037 valve for service)

1шт.

D45037

VALVE

- two spool (Drawbar models with or without three point hitch, ripper and pull behind hydraulics, power tilt or power angling dozer with or without diversion valve) Parts list figure 260

1шт.

D35212

VALVE

- two spool, loader models with counterweight or diversion valve (Parts list figure 256) Use D45039 valve for service

1шт.

D45039

VALVE

- two spool, loader models with counterweight or diversion valve (Parts list figure 262)

1шт.

2

D38088

BRACKET - lever mounting

1шт.

3

13-668

BOLT,Hex, 3/8" - 16 x 4-1/4", Gr 5

HHCS - 3/8" - 16 NC x 4-1/4"

4шт.

4

92-6

LOCK WASHER,3/8"

4шт.

5

25-106

NUT,3/8"-16, G5

- hex. (3/8" - 16 NC)

4шт.

6

D33251

SHAFT

- lever mounting

1шт.

7

138-98

LOCK PIN,3/16" x 1 1/4", Slotted

PIN, 3/16" x 1 1/4", Slotted

1шт.

8

D33256

LEVER - valve control, L.H.

1шт.

9

D33254

LEVER - valve control, R.H. (Models without anti-rollback)

1шт.

D43788

LEVER - valve control, R.H. (Models with anti-rollback)

1шт.

10

D33252

SPACER - lever

1шт.

11

D25483

LINK

- L.H. lever (Short)

2шт.

12

D38089

LINK

- R.H. lever (Long)

2шт.

13

141-3

CLEVIS PIN,5/16" x .940"

PIN, CLEVIS, 5/16" x .940"

4шт.

14

132-25

COTTER PIN,3/32" x 5/8"

Pin, Split (Cotter), 3/32" x 5/8"

4шт.

15

86512512

PLUG,7/8" - 14 ORB

Valve port (If used) Hex Hd, 7/8"-14 ORB

1шт.

16

237-6010

O-RING,0.097" Thk x 0.755" ID, -910, Cl 6, 90 Duro

10-1, 90 Duro, .755" ID x .097" Thk

1шт.

Выбрано товаров: 20