Запчасти Case 310G (136) - CRANKCASE GUARD AND PULL HOOK (04) - UNDERCARRIAGE

Схема запчастей Case 310G - (136) - CRANKCASE GUARD AND PULL HOOK (04) - UNDERCARRIAGE
FIT
1:1
100%

Артикул

Название

Примечание

Количество

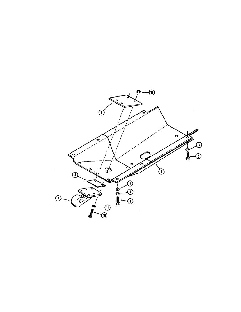
1

D26694

GUARD - crankcase (Use on all models except backhoe)

1шт.

2

13-820

BOLT,Hex, 1/2" - 13 x 1-1/4", Gr 5, Full Thd

8шт.

3

195-33

WASHER,1/2"

- flat () 1/2"

4шт.

4

92-8

LOCK WASHER,1/2"

8шт.

5

13-828

BOLT,Hex, 1/2" - 13 x 1-3/4", Gr 5

HHCS - 1/2" - 13 NC x 1-3/4"

2шт.

6

92-8

LOCK WASHER,1/2"

2шт.

7

10940

HOOK

- pull

1шт.

8

36718

BRAKE BAND

SHIM - mounting, pull hook

1шт.

9

32123

LEVER

PLATE - doubler, pull hook

1шт.

10

14-836

BOLT,Hex, 1/2" - 20 x 2-1/4", Gr 5

HHCS - 1/2" - 20 NF x 2-1/4"

4шт.

11

92-8

LOCK WASHER,1/2"

4шт.

12

25-118

NUT,1/2"-20, G5

- hex. (1/2" - 20 NF)

4шт.

Выбрано товаров: 12