Запчасти Case 310G (076) - G11051 DISTRIBUTOR (148B) SPARK IGNITION ENGINE (06) - ELECTRICAL SYSTEMS

Схема запчастей Case 310G - (076) - G11051 DISTRIBUTOR (148B) SPARK IGNITION ENGINE (06) - ELECTRICAL SYSTEMS
FIT
1:1
100%

Артикул

Название

Примечание

Количество

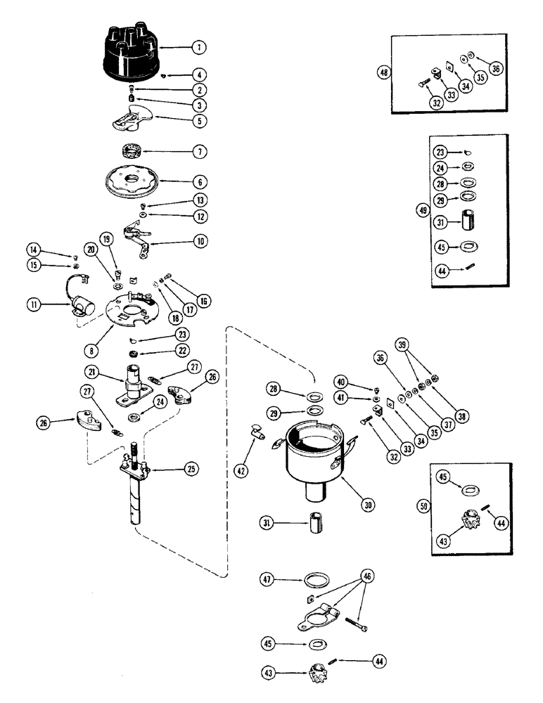
G11051

DISTRIBUTOR

ASSY. - (Prestolite #IAD-6003-2J)

1шт.

1

A8368

CAP

ASSY.

1шт.

2

NSS

NOT SOLD SEPARAT

SPRING - brush tension

1шт.

3

NSS

NOT SOLD SEPARAT

BRUSH - contact (Carbon)

1шт.

4

NSS

NOT SOLD SEPARAT

PLUG - rubber, vent hole

1шт.

5

A8369

ROTOR

1шт.

6

A25194

PLATE

COVER ASSY. - breaker plate

1шт.

7

NSS

NOT SOLD SEPARAT

SEAL - dust, felt

1шт.

8

A25196

PLATE

ASSY. - breaker

1шт.

A40929

KIT

- points & condenser

1шт.

10

NSS

NOT SOLD SEPARAT

POINT SET - (Order A40929)

1шт.

11

NSS

NOT SOLD SEPARAT

CONDENSER - (Order A40929)

1шт.

12

192-6

LOCK WASHER,#8

WASHER, LOCK, #8

1шт.

13

177-72

SCREW - point set (#8-32 x 3/16")

1шт.

14

177-56

SCREW - condenser (#6-32 x 3/16" fill. hd.)

1шт.

15

192-5

LOCK WASHER,#6

WASHER, LOCK, #6

1шт.

16

171-216

SCREW,Sl Flat Hd, #6 - 32 x 5/16"

- spring clamp (#6-32 x 5/16" flat hd.)

1шт.

17

192-5

LOCK WASHER,#6

WASHER, LOCK, #6

1шт.

18

195-6

WASHER,#6

- # 6 flat

1шт.

19

177-94

SCREW,Sl Fil Hd, #10 - 32 x 5/16"

- plate (#10-32 x 5/16" fill. hd.)

2шт.

20

193-26

LOCK WASHER,Int Tooth, #10

WASHER, LOCK, Int Tooth, #10

2шт.

21

A25193

CAM

ASSY.

1шт.

22

NSS

NOT SOLD SEPARAT

WICK - oiler

1шт.

Ref #22 - A42818 Wick Kit 06/11/96

1шт.

23

A25180

RING, SNAP

RING - snap (See ref. 49)

1шт.

24

NSS

NOT SOLD SEPARAT

SPACER - cam (Order ref. 49)

1шт.

25

A25177

SHAFT

- drive

1шт.

26

A25198

WEIGHT

- governor

2шт.

27

A25208

SET

SPRING - governor weight (Set of 2)

1шт.

28

A24752

WASHER

- thrust, inner (See ref. 49)

1шт.

29

A24753

WASHER

- thrust, outer (See ref. 49)

1шт.

30

NSS

NOT SOLD SEPARAT

BASE ASSY. - (Order A30358)

1шт.

31

A24766

BUSHING

BEARING - drive shaft (See ref. 49)

1шт.

32

NSS

NOT SOLD SEPARAT

CONTACT - terminal (Order ref. 48)

1шт.

33

NSS

NOT SOLD SEPARAT

CONNECTOR - lo-tension (Order ref. 48)

1шт.

34

NSS

NOT SOLD SEPARAT

INSULATION - inner (Order ref. 48)

1шт.

35

NSS

NOT SOLD SEPARAT

BUSHING - insulator (Order ref. 48)

1шт.

36

NSS

NOT SOLD SEPARAT

INSULATION - outer (Order ref. 48)

1шт.

37

195-5

WASHER

- #10 plain

1шт.

38

92-3

LOCK WASHER,#10

WASHER, LOCK, #10

1шт.

39

129-27

NUT,Hex, #10 - 32

- hex. #10-32

2шт.

40

174-56

SCREW - connector (#6-32 x 3/16" rd. hd.)

1шт.

41

192-5

LOCK WASHER,#6

WASHER, LOCK, #6

1шт.

42

A24887

OILER - drive shaft

1шт.

43

NSS

NOT SOLD SEPARAT

GEAR - drive (Order ref. 50)

1шт.

44

138-56

LOCK PIN,1/8" x 11/16", Slotted

PIN, (See ref. 50) 1/8" x 11/16", Slotted

1шт.

45

A25200

WASHER

- thrust, drive gear

1шт.

46

A29989

ARM

- advance (Order separate)

1шт.

47

A30080

THRUST WASHER

- thrust, advance arm (Order separate)

1шт.

48

A40321

KIT

- terminal stud (Incl. ref. 32, 33, 34, 35 & 36)

1шт.

49

A40322

KIT

- shaft bearing (Incl. ref. 23, 24, 28, 29, 31, 44 & 45)

1шт.

50

A40323

GEAR

KIT - gear (Incl. ref. 43, 44 & 45)

1шт.

Выбрано товаров: 52