Запчасти Case 310G (140) - FORESTRY ATTACHMENTS (05) - UPPERSTRUCTURE CHASSIS

Схема запчастей Case 310G - (140) - FORESTRY ATTACHMENTS (05) - UPPERSTRUCTURE CHASSIS
FIT
1:1
100%

Артикул

Название

Примечание

Количество

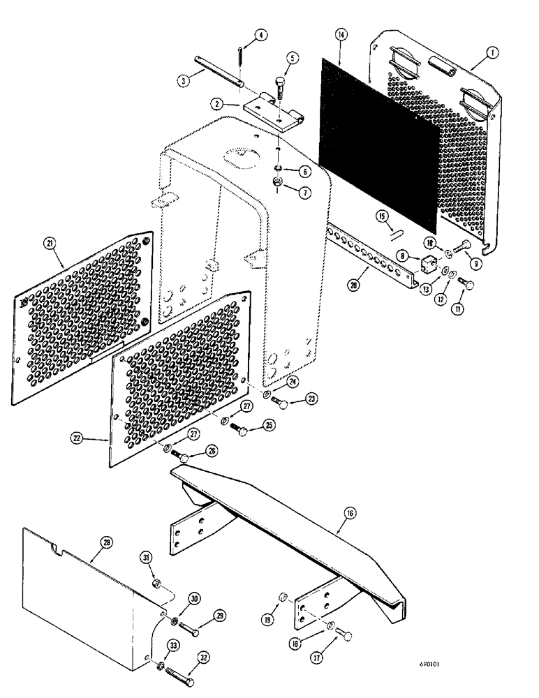
1

D43731

GRILLE - radiator, dozer and drawbar models only (When stock is exhausted, use D50515 and 10 - 195-33 flat washers)

1шт.

1

D50515

GRILLE ASSY

GRILLE - radiator, dozer and drawbar models only

1шт.

1a

195-33

WASHER,1/2"

- flat (3/8") Not shown

10шт.

2

D40462

BRACKET - grille

1шт.

3

D40286

PIN - grille mounting

1шт.

4

132-48

COTTER PIN,1/8" x 1"

Pin, Split (Cotter), 1/8" x 1"

1шт.

5

13-624

BOLT,Hex, 3/8" - 16 x 1-1/2", Gr 5

HHCS - 3/8" - 16 NC x 1-1/2"

2шт.

6

92-6

LOCK WASHER,3/8"

2шт.

7

25-106

NUT,3/8"-16, G5

- hex. (3/8" - 16 NC)

2шт.

8

D33492

BLOCK - mounting, L.H. (D43731 grille)

1шт.

8

D33493

BLOCK - mounting, R.H. (D43731 grille)

1шт.

9

13-840

BOLT,Hex, 1/2" - 13 x 2-1/2", Gr 5

HHCS - 1/2" - 13 NC x 2-1/2"

2шт.

10

92-8

LOCK WASHER,1/2"

2шт.

11

13-820

BOLT,Hex, 1/2" - 13 x 1-1/4", Gr 5, Full Thd

If used Hex, 1/2"-13 x 1 1/4", G5, Full Thd

2шт.

12

92-8

LOCK WASHER,1/2"

2шт.

13

195-33

WASHER,1/2"

- flat () 1/2"

2шт.

14

D33494

SCREEN - grille

1шт.

15

R14078

ELECTRICAL WIRE

WIRE - screen mounting (No. 20 x 18-1/4" long)

6шт.

16

D32133

BUMPER - use on drawbar models only

1шт.

17

13-828

BOLT,Hex, 1/2" - 13 x 1-3/4", Gr 5

HHCS - 1/2" - 13 NC x 1-3/4"

8шт.

18

92-8

LOCK WASHER,1/2"

8шт.

19

25-108

NUT,1/2"-13, G5

- hex. (1/2" - 13 NC)

4шт.

20

D51326

PLATE

CROSSBAR - radiator guard

1шт.

21

D30483

GUARD - brush, side (L.H.) Use on drawbar models

1шт.

22

D30480

GUARD - brush, side (R.H.) Use on drawbar models

1шт.

23

13-816

BOLT,Hex, 1/2" - 13 x 1", Gr 5, Full Thd

4шт.

24

92-8

LOCK WASHER,1/2"

4шт.

25

13-616

BOLT,Hex, 3/8" - 16 x 1", Gr 5, Full Thd

2шт.

26

13-612

BOLT,Hex, 3/8" - 16 x 3/4", Gr 5, Full Thd

2шт.

27

92-6

LOCK WASHER,3/8"

4шт.

28

D21408

GUARD - transmission, rear (Use on drawbar and dozer models without backhoe)

1шт.

29

13-824

BOLT,Hex, 1/2" - 13 x 1-1/2", Gr 5, Full Thd

2шт.

30

92-8

LOCK WASHER,1/2"

2шт.

31

25-108

NUT,1/2"-13, G5

- hex. (1/2" - 13 NC)

2шт.

32

14-1024

BOLT,Hex, 5/8" - 18 x 1-1/2", Gr 5

2шт.

33

92-10

LOCK WASHER,5/8"

WASHER, LOCK, 5/8"

2шт.

Выбрано товаров: 36