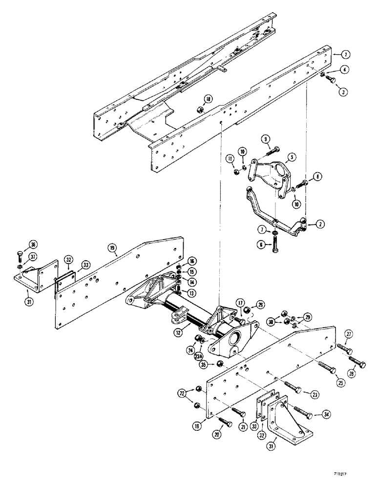
Запчасти Case 350 (406) - ENGINE FRAME, RELATED PARTS AND TORQUE TUBE, BEFORE TRACTOR SN 3050472 (01) - ENGINE

Схема запчастей Case 350 - (406) - ENGINE FRAME, RELATED PARTS AND TORQUE TUBE, BEFORE TRACTOR SN 3050472 (01) - ENGINE
19
27
25
11
10
23a
34
3
33
4
31
33
16
20
31
36
32
1
12
14
28
18
26
19
5
15
24
35
21
7
10
37
8
6
32
2
17
23
9
30
22
13
29
FIT
1:1
100%

Артикул

Название

Примечание

Количество

1

R24878

FRAME

- engine, tractor sn 3050472 and after/or previous ROPS models

1шт.

1

D48498

FRAME

- engine, before tractor sn 3050472 except ROPS models

1шт.

2

D48494

MOUNTING PARTS

SUPPORT - engine, front

1шт.

3

13-820

BOLT,Hex, 1/2" - 13 x 1-1/4", Gr 5, Full Thd

4шт.

4

92-8

LOCK WASHER,1/2"

4шт.

5

D36857

BRACKET

MOUNT - engine, front

1шт.

6

26-1048

BOLT,Hex, 5/8" - 11 x 3", Gr 8

- hex, 5/8" - 11 NC x 3"

1шт.

7

T53567

BEARING WASHER,16.66mm ID x 33.33mm OD x 3.43mm Thk

WASHER - special, if used

1шт.

7

T53567

BEARING WASHER,16.66mm ID x 33.33mm OD x 3.43mm Thk

WASHER - hardened, if used

1шт.

8

13-1032

BOLT,Hex, 5/8" - 11 x 2", Gr 5

2шт.

9

G49039

BOLT

- special, 5/8" - 18 NF x 2-1/2", if used

2шт.

9

R33936

BOLT

- special, 5/8" - 11 NC x 3", if use

2шт.

10

92-10

LOCK WASHER,5/8"

WASHER, LOCK, 5/8"

4шт.

11

25-1010

NUT,5/8"-11, G5

- hex, 5/8" - 18 NF

2шт.

11

25-1110

NUT,5/8"-18, G5

- hex, 5/8" - 11 NC

2шт.

12

D95063

TUBE

- torque, standard, 48" (1219 MM) gauge

1шт.

12

D95064

TUBE

- torque, 60" (1524.0 MM) gauge, drawbar models

1шт.

12

R25854

TUBE - torque, 60" (1524.0 MM) guage, angle tilt dozer

1шт.

12

D95056

TUBE - torque, 72" (1828.8 MM) guage, drawbar model

1шт.

13

13-836

BOLT,Hex, 1/2" - 13 x 2-1/4", Gr 5

- hex, 1/2" - 13 NC x 2-1/4"

4шт.

14

33496

BRAKE LINING

SHIM - .010" (.254 MM) thick

1шт.

15

92-8

LOCK WASHER,1/2"

4шт.

16

25-108

NUT,1/2"-13, G5

- hex, 1/2" - 13 NC

4шт.

17

13-1228

BOLT,Hex, 3/4" - 10 x 1-3/4", Gr 5

2шт.

18

28-1012

NUT - hex, 3/4" - 10 NC, if used

2шт.

19

D45905

PLATE - side

2шт.

20

D29721

BOLT

- special

4шт.

21

14-1240

BOLT,Hex, 3/4" - 16 x 2-1/2", Gr 5

- hex, 3/4" - 16 NF x 2-1/2"

2шт.

22

230-46112

LOCK NUT,3/4"-16, GA

NUT - hex, self lock, 3/4" - 16 NF

6шт.

23

13-1244

BOLT,Hex, 3/4" - 10 x 2-3/4", Gr 5

2шт.

23a

D34666

WASHER,33.34mm ID x 63.5mm OD x 2.38mm Thk

- special, if used

2шт.

24

131-657

LOCK NUT,3/4"-10, GB

NUT - hex, self lock, 3/4" - 10 NC

2шт.

25

33047

BOLT,Hex, 1" - 14 x 3 3/32"

- special, 1" - 14 NF thread, use R25836 bolt and 131-1177 nut

4шт.

25

R25836

BOLT

- special, 1" - 8 NC thread

4шт.

26

232-46116

LOCK NUT,1"-14, GC

NUT - hex, self lock, 1" - 14 NF, 33047 bolt

4шт.

26

131-1177

LOCK NUT,1"-8, GC

NUT - hex, self lock, 1" - 8 NC, R25836 bolt

4шт.

27

13-1240

BOLT,Hex, 3/4" - 10 x 2-1/2", Gr 5

2шт.

28

13-1248

BOLT,Hex, 3/4" - 10 x 3", Gr 5

2шт.

29

92-12

LOCK WASHER,3/4"

WASHER, LOCK, 3/4"

4шт.

30

25-1012

NUT,3/4"-10, G5

4шт.

31

D29059

BRACKET - mounting, track frame

2шт.

32

D29758

SHIM,.1875" Thk

(4.76 mm) .1875" Thk

1шт.

33

D29759

SHIM,.0747" Thk

(1.90 mm) .0747" Thk

1шт.

34

14-1248

BOLT,Hex, 3/4" - 16 x 3", Gr 5

- hex, 3/4" - 16 NF x 3"

8шт.

35

231-46112

LOCK NUT,3/4"-16, GB

NUT - hex, lock, 3/4" - 16 NF

8шт.

36

14-1228

BOLT,Hex, 3/4" - 16 x 1-3/4", Gr 5

- hex, 3/4" - 16 NF x 1-3/4"

8шт.

37

92-12

LOCK WASHER,3/4"

WASHER, LOCK, 3/4"

8шт.

Выбрано товаров: 47