Запчасти Case 350 (400) - FRONT COUNTERWEIGHTS, BACKHOE MODELS (05) - UPPERSTRUCTURE CHASSIS

Схема запчастей Case 350 - (400) - FRONT COUNTERWEIGHTS, BACKHOE MODELS (05) - UPPERSTRUCTURE CHASSIS
6
12
14
4
16
2
8
15
3
1
10
9
5
7
11
13
FIT
1:1
100%

Артикул

Название

Примечание

Количество

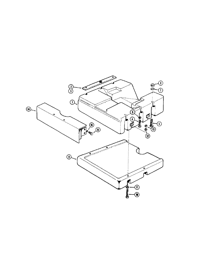
1

D26394

COUNTERWEIGHT - front, upper, 780 pounds (353.8 KG)

1шт.

2

D31614

STRIP - reinforcing, RH, early production

1шт.

3

D31613

STRIP - reinforcing, LH, early production

1шт.

4

26-864

BOLT,Hex, 1/2" - 13 x 4", Gr 8

- hex, 1/2" - 13 NC x 4", grade 8

2-4шт.

5

D26752

WASHER

- special

2шт.

6

13-868

BOLT,Hex, 1/2" - 13 x 4-1/4", Gr 5

Used with strips Hex, 1/2"-13 x 4 1/4", G5

4шт.

7

D26752

WASHER

- special

4шт.

8

131-1138

LOCK NUT,1/2"-13, GC

NUT - hex, self lock, 1/2" - 13 NC

4-6шт.

9

D26405

WEIGHT

COUNTERWEIGHT - front, lower, 386 pounds (175.0 KG), cast

1шт.

9

R32715

WEIGHT

COUNTERWEIGHT - front, lower, 386 pounds (175.0 KG), fabricated, service with D26405

1шт.

10

26-856

BOLT,Hex, 1/2" - 13 x 3-1/2", Gr 8

- hex, 1/2" - 13 NC x 3-1/2", grade 8

4шт.

11

95-8

WASHER,1/2"

flat 1/2"

4шт.

12

D26752

WASHER

- special

4шт.

13

131-1138

LOCK NUT,1/2"-13, GC

NUT - hex, self lock, 1/2" - 13 NC

4шт.

14

D51341

BUMPER - front, backhoe models only

1шт.

15

13-832

BOLT,Hex, 1/2" - 13 x 2", Gr 5

4шт.

16

92-8

LOCK WASHER,1/2"

4шт.

Выбрано товаров: 17