Запчасти Case 350B (280) - ENGINE FRAME AND MAIN FRAME, DRAWBAR AND DOZER MODELS (05) - UPPERSTRUCTURE CHASSIS

Схема запчастей Case 350B - (280) - ENGINE FRAME AND MAIN FRAME, DRAWBAR AND DOZER MODELS (05) - UPPERSTRUCTURE CHASSIS
FIT
1:1
100%

Артикул

Название

Примечание

Количество

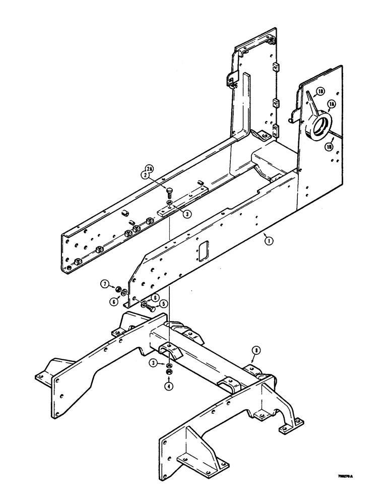
1

R41702

FRAME - engine, Includes: Ref. 1A and 1B

1шт.

1a

D31317

RACE

- dozer lift trunnion, weld on

2шт.

1b

R42367

GUSSET

- trunnion race, weld on

4шт.

2

26-1036

BOLT,Hex, 5/8" - 11 x 2-1/4", Gr 8

- hex head, 5/8" - 11 NC x 2-1/4", grade 8, if used

4шт.

2a

26-1044

BOLT,Hex, 5/8" - 11 x 2-3/4", Gr 8

- hex head, 5/8" - 11 NC x 2-3/4", grade 8, if used

4шт.

3

T53567

BEARING WASHER,16.66mm ID x 33.33mm OD x 3.43mm Thk

WASHER - hardened, 5/8"

8шт.

4

131-1137

NUT,5/8"-11, GC

- hex, self-locking, 5/8" - 11 NC

4шт.

5

26-1228

BOLT,Hex, 3/4" - 10 x 1-3/4", Gr 8

- hex head, 3/4" - 10 NC x 1-3/4"

8шт.

6

D34666

WASHER,33.34mm ID x 63.5mm OD x 2.38mm Thk

- hardened, 3/4"

16шт.

7

131-1205

LOCK NUT,3/4"-10, GC

NUT, LOCK, 3/4"-10, GC

8шт.

8

R41508

FRAME - main, standard 48" (1219 mm) gauge models, if used

1шт.

8

R41708

FRAME - main, 60" (1524 mm) gauge dozer models, not shown, if used

1шт.

8

R43158

FRAME ASSY

FRAME - main, 72" (1829 mm) gauge dozer models, not shown, if used

1шт.

Выбрано товаров: 13