Запчасти Case 350B (290) - COWL (HYDRAULIC RESERVOIR) AND INSTRUMENT PANEL COVERS (05) - UPPERSTRUCTURE CHASSIS

Схема запчастей Case 350B - (290) - COWL (HYDRAULIC RESERVOIR) AND INSTRUMENT PANEL COVERS (05) - UPPERSTRUCTURE CHASSIS
FIT
1:1
100%

Артикул

Название

Примечание

Количество

1

REF

INSTRUCTION

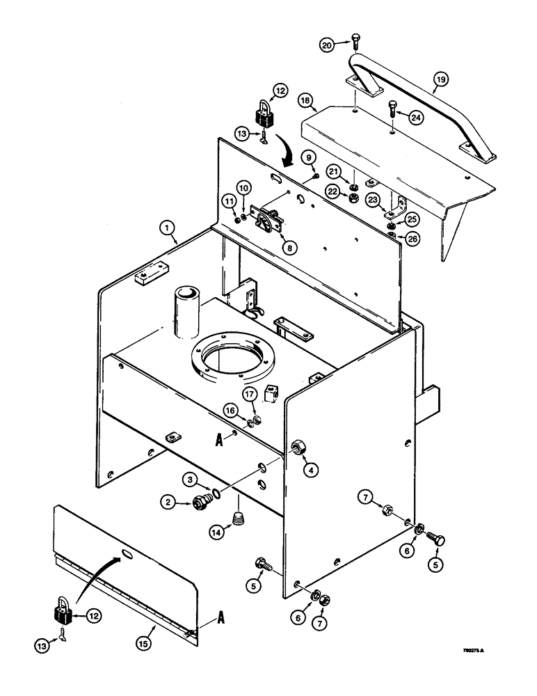
COWL - with brackets for hood retainers, no longer used, order R47649 cowl, R47641 hood, and R47632 and R47633 side shield mounting plates, see figure 288

1шт.

1

R47649

TANK, HYDRAULIC OIL

COWL - without brackets for hood retainers, not shown

1шт.

2

R29753

ELECTRICAL GAUGE

SIGHT GAUGE - oil level

2шт.

4

218-1255

BHD LOCK NUT,Blkhd, 3/4"-16

NUT, LOCK, Blkhd, 3/4"-16

2шт.

5

13-816

BOLT,Hex, 1/2" - 13 x 1", Gr 5, Full Thd

6шт.

6

92-8

LOCK WASHER,1/2"

6шт.

7

25-108

NUT,1/2"-13, G5

- hex, 1/2" - 13 NC

6шт.

8

L102515

LATCH

- hydraulic reservoir cover

1шт.

9

182-516

SCREW,Sl Pan Hd, #10 - 24 x 1/2"

MACHINE SCREW - pan head slotted, No. 10 - 24 NC x 1/2", plated

2шт.

10

192-18

LOCK WASHER,Helical Spring, #10, 0.196" ID, CST, ZND

WASHER, LOCK, #10

2шт.

11

129-17

NUT,Hex, #10 - 24

NUT - hex, No. 10 - 24 NC, plated

2шт.

12

D93753

PADLOCK

- hydraulic reservoir access and instrument panel cover, if used, Includes: Ref. 13

2шт.

13

R29555

KEY

- for Master padlock only

2шт.

13

D93751

SET OF 2 KEYS

KEY - for Yale padlock only

2шт.

14

221-751

PLUG - hydraulic reservoir, magnetic, 3/4" - 14 NPT 3/4"-14

1шт.

15

R41761

COVER - instrument panel, if used

1шт.

16

92-6

LOCK WASHER,3/8"

2шт.

17

25-106

NUT,3/8"-16, G5

- hex, 3/8" - 16 NC

2шт.

18

R41764

COVER ASSY

COVER - top, instrument panel, if used

1шт.

19

R43198

RAIL

HANDRAIL - used on dozer models only, if used

1шт.

20

113-279

BOLT

- hex head, 3/8" - 16 NC x 3/4", plated

2шт.

21

92-6

LOCK WASHER,3/8"

2шт.

22

25-106

NUT,3/8"-16, G5

- hex, 3/8" - 16 NC

2шт.

23

R43267

ANGLE

BRACKET - padlock, top cover

1шт.

24

113-279

BOLT

- hex head, 3/8" - 16 NC x 3/4", plated

1шт.

25

92-6

LOCK WASHER,3/8"

1шт.

26

25-106

NUT,3/8"-16, G5

- hex, 3/8" - 16 NC

1шт.

3

218-5006

O-RING,0.087" Thk x 0.644" ID, -908, Cl 6, 90 Duro

8-1, 90 Duro, .644" ID x .087" Thk, sight gauge

2шт.

Выбрано товаров: 28