Запчасти Case 350B (294) - FLOOR PLATES AND STEPS (05) - UPPERSTRUCTURE CHASSIS

Схема запчастей Case 350B - (294) - FLOOR PLATES AND STEPS (05) - UPPERSTRUCTURE CHASSIS
FIT
1:1
100%

Артикул

Название

Примечание

Количество

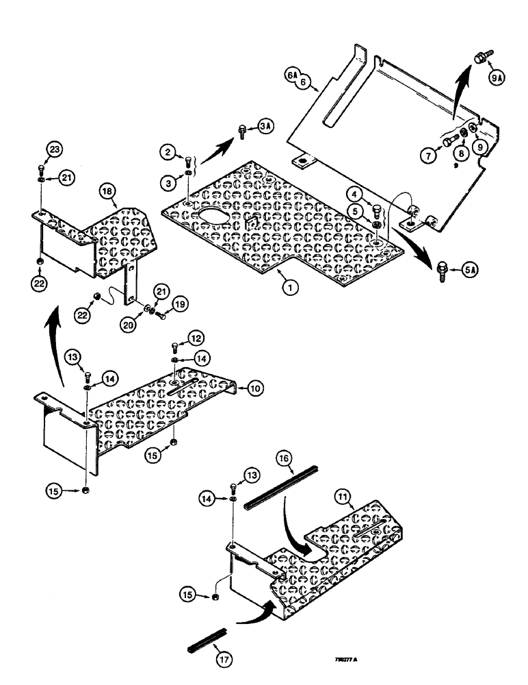
1

R42608

PLATE - rear floor

1шт.

2

13-616

BOLT,Hex, 3/8" - 16 x 1", Gr 5, Full Thd

No longer used, replace with Ref. 3A flange head bolt Hex, 3/8"-16 x 1", G5, Full Thd

4шт.

3

92-6

LOCK WASHER,3/8"

used with ref. 2 bolt only, if used 3/8"

4шт.

3a

121-234

BOLT,Hex Flg, 3/8"-16 x 1", G8, Full Thd

Replaces refs. 2 and 3 Hex Flg, 3/8"-16 x 1", G8, Full Thd

4шт.

4

13-812

BOLT,Hex, 1/2" - 13 x 3/4", Gr 5

- hex head, 1/2" - 13 NC x 3/4", no longer used, replace with ref. 5A flange head bolt

2шт.

5

92-8

LOCK WASHER,1/2"

Used with Ref. 4 bolt only, if used 1/2"

2шт.

5a

121-428

FLANGE BOLT,Hex, 1/2" - 13 x 1", Gr 8, Full Thd

BOLT, , Replaces refs. 4 and 5 Hex Flg, 1/2"-13 x 1", G8, Full Thd

2шт.

6

R43140

CONTROL SLIDE

PLATE - front floor, used on models without a tachometer, if used

1шт.

6a

R44042

PLATE - front floor, used on models with a tachometer, if used, see figure 78

1шт.

7

13-820

BOLT,Hex, 1/2" - 13 x 1-1/4", Gr 5, Full Thd

No longer used (Replace with ref. 9A flange head bolt) Hex, 1/2"-13 x 1 1/4", G5, Full Thd

2шт.

8

92-8

LOCK WASHER,1/2"

Used with Ref. 7 bolt only, if used 1/2"

2шт.

9

195-33

WASHER,1/2"

- flat, , used with ref. 7 bolt only, if used 1/2"

2шт.

9a

121-428

FLANGE BOLT,Hex, 1/2" - 13 x 1", Gr 8, Full Thd

BOLT, , Replaces refs. 7, 8, and 9 Hex Flg, 1/2"-13 x 1", G8, Full Thd

2шт.

10

R42739

PLATE - step, left-hand, dozer and drawbar models only

1шт.

11

R42740

PLATE - step, right-hand, dozer and drawbar models only

1шт.

12

13-616

BOLT,Hex, 3/8" - 16 x 1", Gr 5, Full Thd

2шт.

13

13-612

BOLT,Hex, 3/8" - 16 x 3/4", Gr 5, Full Thd

4шт.

14

92-6

LOCK WASHER,3/8"

6шт.

15

25-106

NUT,3/8"-16, G5

- hex, 3/8" - 16 NC

6шт.

16

REF

INSTRUCTION

TRIM - item 11 step plate, 10-1/4" (260 mm) long, cut from D52812, see below

1шт.

17

REF

INSTRUCTION

TRIM - item 11 step plate, 5" (127 mm) long, cut from D52812, see below

1шт.

18

R41832

PLATE - step, left-hand, loader models only

1шт.

19

13-616

BOLT,Hex, 3/8" - 16 x 1", Gr 5, Full Thd

2шт.

20

195-25

WASHER,3/8"

- flat, 3/8"

2шт.

21

92-6

LOCK WASHER,3/8"

4шт.

22

25-106

NUT,3/8"-16, G5

- hex, 3/8" - 16 NC

4шт.

23

13-612

BOLT,Hex, 3/8" - 16 x 3/4", Gr 5, Full Thd

2шт.

D52812

RUBBER STRIP

TRIM - edge, 83" (2108 mm) long

1шт.

Выбрано товаров: 28