Запчасти Case 1000 (034) - FUEL INJECTION SYSTEM (02) - FUEL SYSTEM

Схема запчастей Case 1000 - (034) - FUEL INJECTION SYSTEM (02) - FUEL SYSTEM
FIT
1:1
100%

Артикул

Название

Примечание

Количество

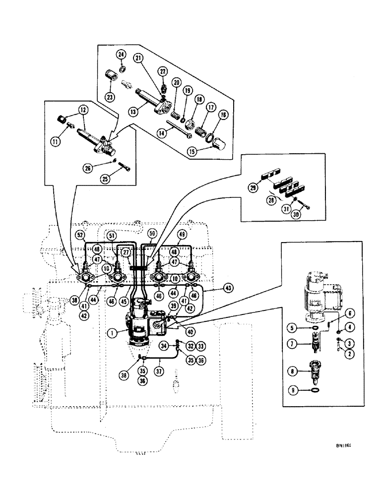
1

73412

ADAPTER

PUMP - fuel injection (See figure 36 for breakdown)

1шт.

2

REF

INSTRUCTION

STUD - 5/16 - 18 NC x 2-1/8 (See figure 8, ref. #23)

2шт.

3

R13663

SPARE PART Special

2шт.

4

131-4

LOCK NUT,5/16"-18, GB

2шт.

5

NLS

NO LONGER SERVICED

Adapter

1шт.

6

73413

SPARE PART Dowel (73409 mt'g.)

1шт.

7

73409

SHAFT

Injection pump drive

1шт.

8

R14056

X

ADAPTER - injection pump (Order R21323 & R19956 for service)

1шт.

9

73414

SPARE PART

Injection, Serial Range: pump-block

1шт.

10

73415

BUSHING

HOLDER & TIP ASSY - nozzle

4шт.

11

73416

SPARE PART

1шт.

12

NSS

NOT SOLD SEPARAT

HOLDER ASSY - nozzle (Order 73415 for service)

1шт.

13

19330

SPARE PART BODY - nozzle holder

1шт.

14

19331

SPINDLE

1шт.

15

19332

NUT - spring cap

1шт.

16

19333

SPARE PART Nozzle holder

2шт.

17

19334

NUT - adjusting, spring cap

1шт.

18

19335

NUT - lock

1шт.

19

19336

SPARE PART Nozzle holder

1шт.

20

R13084

SPARE PART Nozzle holder

1шт.

21

R13083

SPARE PART Nozzle holder

1шт.

22

19339

ROTOR

Nozzle holder

1шт.

23

19340

NUT - nozzle cap

1шт.

24

19341

SPARE PART

WASHER - nozzle cap

1шт.

25

10690

NUT

SCREW - 5/16 - 18 NC x 1-1/2 (73415 mt'g.)

8шт.

26

92-5

LOCK WASHER,5/16"

8шт.

27

71864

SPARE PART ASSY - fuel injection lines

1шт.

28

NSS

NOT SOLD SEPARAT

CLAMP SECTION - drilled

3шт.

29

NSS

NOT SOLD SEPARAT

CLAMP SECTION - tapped

1шт.

30

71867

SCREW - 1/4 - 20 NC (71864 mt'g.)

2шт.

31

92-4

LOCK WASHER,1/4"

2шт.

32

221-51

SUN VISOR,Hex, 1/4" x 1/8" NPT

REDUCER

1шт.

33

35683

Street, 1/8 NPT

1шт.

34

NLS

NO LONGER SERVICED

CONNECTOR - male

1шт.

35

222-111

TUBE NUT,7/16" - 24

3/16 flex tube

2шт.

36

222-101

SLEEVE,3/16" Tube

2шт.

37

73424

SPARE PART Injection pump drive lube oil

1шт.

38

222-41

ELBOW,90 Degree, 7/16"-24 x 1/8 NPT

3/16 flex tube

2шт.

39

NLS

NO LONGER SERVICED

Street, 1/8 NPT

1шт.

40

NLS

NO LONGER SERVICED

CONNECTOR - male

1шт.

41

222-111

TUBE NUT,7/16" - 24

3/16 flex tube

8шт.

42

222-101

SLEEVE,3/16" Tube

8шт.

43

73574

SPARE PART ASSY - leak-off (#4, Serial Range: cylinder-pump)

1шт.

44

73421

SPARE PART ASSY - leak-off (#1 to #2 and #3 to #4 cylinders)

2шт.

45

73422

SPARE PART ASSY - leak-off (#2 to #3 cylinders)

1шт.

46

30309

SPARE PART TEE - 3/16 flex tube

3шт.

47

30307

SPARE PART Ermeto coupling

4шт.

48

30308

SPARE PART RING - Ermeto coupling

4шт.

49

73420

SPARE PART ASSY - injection (#4, Serial Range: nozzle-pump)

1шт.

50

73419

GASKET

SPARE PART TUBE ASSY - injection (#3, Serial Range: nozzle-pump)

1шт.

51

73418

GASKET

SPARE PART TUBE ASSY - injection (#2, Serial Range: nozzle-pump)

1шт.

52

73417

SPARE PART ASSY - injection (#1, Serial Range: nozzle-pump)

1шт.

Выбрано товаров: 52