Запчасти Case 1000 (168) - STANDARD ROCK GUARDS, SIX ROLLER (04) - UNDERCARRIAGE

Схема запчастей Case 1000 - (168) - STANDARD ROCK GUARDS, SIX ROLLER (04) - UNDERCARRIAGE
FIT
1:1
100%

Артикул

Название

Примечание

Количество

6335

FITTING

GUARD INSTALLATION - rock (Optional equipment)

1шт.

1

71482

WASHER

GUARD - R.H. outer rock

1шт.

71483

GUARD - L.H. outer rock

1шт.

2

71484

SPEED GOVERNOR

GUARD - R.H. inner rock

1шт.

71485

SPARE PART

GUARD - L.H. inner rock

1шт.

3

70647

GUARD - R.H. rock (Order with print R4443)

1шт.

70648

GUARD - L.H. rock (Order with print R4443)

1шт.

4

14-820

BOLT,Hex, 1/2" - 20 x 1-1/4", Gr 5

HHCS - 1/2 - 20 NF x 1-1/4 (71482, 71483 & 71484, 71485 mt'g.)

48шт.

5

92-8

LOCK WASHER,1/2"

48шт.

6

14-1236

BOLT,Hex, 3/4" - 16 x 2-1/4", Gr 5, Full Thd

HHCS - 3/4 - 16 NF x 2-1/4 (70647 & 70648 mt'g.)

16шт.

7

14-824

BOLT,Hex, 1/2" - 20 x 1-1/2", Gr 5

HHCS - 1/2 - 20 NF x 1-1/2 (71482 & 71483 mt'g.)

4шт.

8

92-8

LOCK WASHER,1/2"

4шт.

9

70641

GUARD ASS'Y - sprocket

2шт.

10

14-824

BOLT,Hex, 1/2" - 20 x 1-1/2", Gr 5

HHCS - 1/2 - 20 NF x 1-1/2 (70641 mt'g.)

10шт.

11

92-8

LOCK WASHER,1/2"

10шт.

6333

HYDRAULIC CYLINDER

GUARD INSTALLATION - idler (Optional equipment)

1шт.

12

70642

GUARD - R.H. front idler

2шт.

13

70643

KNOB

GUARD - L.H. front idler

2шт.

14

14-816

BOLT,Hex, 1/2" - 20 x 1", Gr 5

HHCS - 1/2 - 20 NF x 1 (70642 & 70643 mt'g.)

16шт.

15

92-8

LOCK WASHER,1/2"

16шт.

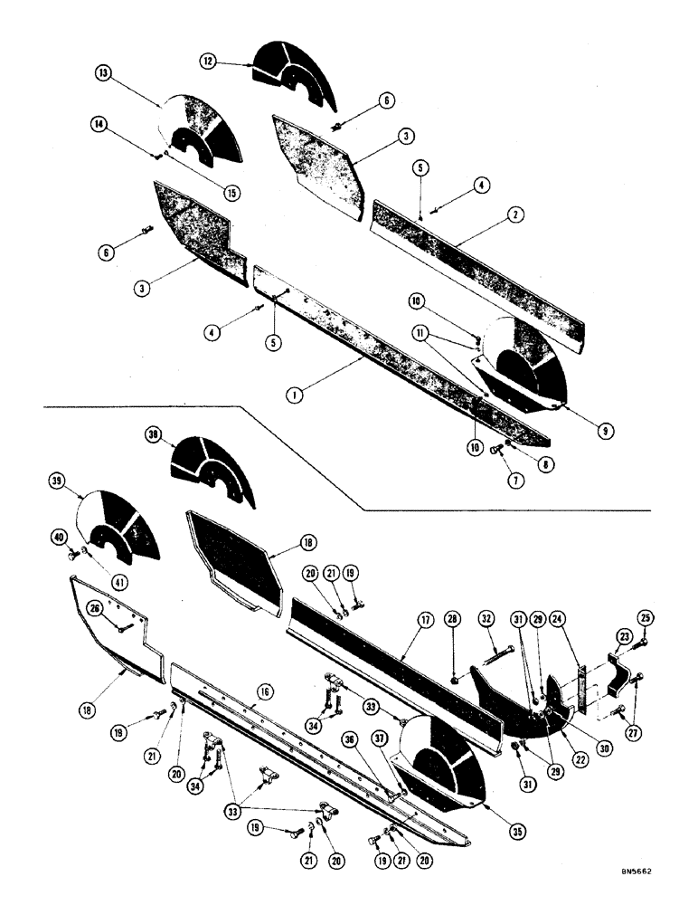
R2267

GUARD INSTALLATION - rock (Optional equipment), 6 roller

1шт.

16

74987

GUARD - R.H. outer rock, heavy duty rock guards ( 6 roller)

1шт.

74988

GUARD - L.H. outer rock, heavy duty rock guards ( 6 roller)

1шт.

17

74979

GUARD - R.H. inner rock, heavy duty rock guards ( 6 roller)

1шт.

74980

SWITCH

GUARD - L.H. inner rock, heavy duty rock guards ( 6 roller)

1шт.

18

74975

FLEXIBLE SHEATH

GUARD - R.H. rock (Order with prints R14443 & R20697), heavy duty rock guards ( 6 roller)

2шт.

74976

ROPE

GUARD - L.H. rock (Order with prints R14443 & R20697), heavy duty rock guards ( 6 roller)

2шт.

19

14-820

BOLT,Hex, 1/2" - 20 x 1-1/4", Gr 5

HHCS - 1/2 - 20 NF x 1-1/4 (74987, 74988, 74979, & 74980 mt'g.), heavy duty rock guards ( 6 roller)

76шт.

20

195-33

WASHER,1/2"

- plain, heavy duty rock guards ( 6 roller)

76шт.

21

92-8

LOCK WASHER,1/2"

heavy duty rock guards ( 6 roller) 1/2"

76шт.

22

R11227

GUARD - R.H. inner sprocket, heavy duty rock guards ( 6 roller )

1шт.

R11226

GUARD - L.H. inner sprocket, heavy duty rock guards ( 6 roller)

1шт.

23

R13103

DEFLECTOR - R.H. inner rock guard, heavy duty rock guards ( 6 roller)

1шт.

R13102

DEFLECTOR - L.H. inner rock guard, heavy duty rock guards ( 6 roller)

1шт.

24

74964

ANGLE - rock guard mt'g., heavy duty rock guards ( 6 roller)

2шт.

25

14-1036

BOLT,Hex, 5/8" - 18 x 2-1/4", Gr 5

(R13102 & R13103 mt'g.), heavy duty rock guards (6 roller) Hex, 5/8"-18 x 2 1/4", G5

2шт.

26

14-1232

BOLT,Hex, 3/4" - 16 x 2", Gr 5

HHCS - 3/4 - 16 NF x 2 (74975 & 74976 mt'g.), heavy duty rock guards ( 6 roller )

16шт.

27

14-1032

BOLT,Hex, 5/8" - 18 x 2", Gr 5

(R11226 & R11227 mt'g.), heavy duty rock guards (6 roller) Hex, 5/8"-18 x 2", G5

4шт.

28

131-152

HARDWARE

NUT - lock (3/4 - 16 NF), heavy duty rock guards ( 6 roller)

2шт.

29

92-10

LOCK WASHER,5/8"

WASHER, LOCK, , Heavy duty rock guards (6 roller) 5/8"

6шт.

30

195-41

WASHER,5/8"

Heavy duty rock guards (6 roller) 5/8"

8шт.

30

195-41

WASHER,5/8"

Heavy duty rock guards (6 roller) 5/8"

8шт.

31

25-1110

NUT,5/8"-18, G5

- reg. SF hex. (5/8 - 18 NF), heavy duty rock guards ( 6 roller)

6шт.

32

R10896

BOLT - main frame, heavy duty rock guards ( 6 roller)

2шт.

33

74973

BLOCK - rock guard mt'g., heavy duty rock guards ( 6 roller)

24шт.

34

47649

SPRING

BOLT - place (Self locking), heavy duty rock guards ( 6 roller)

48шт.

35

70641

GUARD ASS'Y - sprocket, heavy duty rock guards ( 6 roller)

2шт.

36

14-824

BOLT,Hex, 1/2" - 20 x 1-1/2", Gr 5

HHCS - 1/2 - 20 NF x 1-1/2 (70641 mt'g.), heavy duty rock guards ( 6 roller)

10шт.

37

92-8

LOCK WASHER,1/2"

heavy duty rock guards ( 6 roller) 1/2"

10шт.

6333

HYDRAULIC CYLINDER

GUARD INSTALLATION - idler (Optional equipment), heavy duty rock guards ( 6 roller)

1шт.

38

70642

GUARD - R.H. front idler, heavy duty rock guards ( 6 roller)

2шт.

39

70643

KNOB

GUARD - L.H. front idler, heavy duty rock guards ( 6 roller)

2шт.

40

14-816

BOLT,Hex, 1/2" - 20 x 1", Gr 5

HHCS - 1/2 - 20 NF x 1 (70642 & 70643 mt'g.), heavy duty rock guards ( 6 roller)

16шт.

41

92-8

LOCK WASHER,1/2"

heavy duty rock guards ( 6 roller) 1/2"

16шт.

Выбрано товаров: 0