Запчасти Case 1000 (182) - DRAWBARS (05) - UPPERSTRUCTURE CHASSIS

Схема запчастей Case 1000 - (182) - DRAWBARS (05) - UPPERSTRUCTURE CHASSIS
FIT
1:1
100%

Артикул

Название

Примечание

Количество

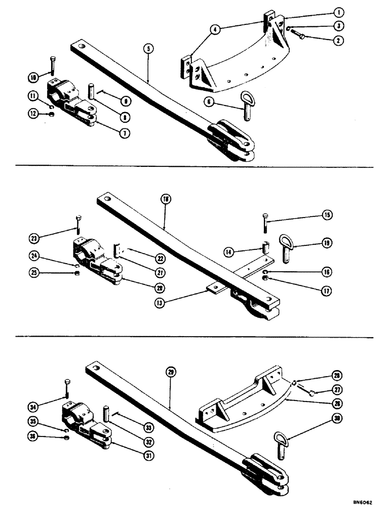
R2789

DRAWBAR INSTALLATION - standard tractor

1шт.

R2580

DRAWBAR INSTALLATION - tractor with counterweight

1шт.

1

74346

GUIDE - drawbar

1шт.

2

14-1236

BOLT,Hex, 3/4" - 16 x 2-1/4", Gr 5, Full Thd

HHCS - 3/4 - 16 NF x 2-1/4 (74346 mt'g.)

4шт.

3

92-12

LOCK WASHER,3/4"

WASHER, LOCK, 3/4"

4шт.

4

R14501

BUSHING

SPACER - (R2789 only)

2шт.

5

70985

DRAWBAR ASS'Y

1шт.

6

70989

PIN ASS'Y - drawbar

1шт.

7

70983

BRACKET - drawbar attaching (Order R17587 & R17588 for service)

1шт.

8

70992

PIN

- drawbar bracket (70983 mt'g.)

1шт.

9

49869

PIN

- lock (70992 mt'g.)

1шт.

10

14-1072

BOLT,Hex, 5/8" - 18 x 4-1/2", Gr 5

HHCS - 5/8 - 18 x 4-1/2 (70983 mt'g.)

4шт.

11

92-10

LOCK WASHER,5/8"

WASHER, LOCK, 5/8"

4шт.

12

25-1110

NUT,5/8"-18, G5

- reg. SF hex. (5/8 - 18 NF)

4шт.

R2503

DRAWBAR INSTALLATION - tractor with ripper

1шт.

13

74602

GUIDE

- drawbar

1шт.

14

74603

SPACER - drawbar

2шт.

15

14-1236

BOLT,Hex, 3/4" - 16 x 2-1/4", Gr 5, Full Thd

HHCS - 3/4 - 16 NF X 2-1/4

2шт.

16

92-12

LOCK WASHER,3/4"

WASHER, LOCK, 3/4"

2шт.

17

25-1112

NUT,3/4"-16, G5

- reg. SF hex. (3/4 - 16 NF)

2шт.

18

74608

DRAWBAR ASS'Y

1шт.

19

74607

PIN ASSY.

PIN ASS'Y - drawbar

1шт.

20

70983

BRACKET - drawbar attaching (Order R17587 & R17588 for service

1шт.

21

70992

PIN

- drawbar bracket (70983 mt'g.)

1шт.

22

49869

PIN

- lock (70992 mt'g.)

1шт.

23

14-1072

BOLT,Hex, 5/8" - 18 x 4-1/2", Gr 5

HHCS - 5/8 - 18 NF x 4-1/2 (70983 mt'g.)

4шт.

24

92-10

LOCK WASHER,5/8"

WASHER, LOCK, 5/8"

4шт.

25

25-1110

NUT,5/8"-18, G5

- reg. SF hex. (5/8 - 18 NF)

4шт.

8916

SCREW,FLAT, 1/4 x 3/4"

DRAWBAR INSTALLATION - tractor with winch

1шт.

26

74295

GUIDE - drawbar

1шт.

27

14-1436

BOLT (SPREADER)

HHCS - 7/8 - 14 NF x 2-1/4 (74295 mt'g.)

4шт.

28

92-14

LOCK WASHER,7/8"

WASHER, LOCK, 7/8"

4шт.

29

74297

DRAWBAR ASS'Y

1шт.

30

70989

PIN ASS'Y - drawbar

1шт.

31

70983

BRACKET - drawbar attaching (Order R17587 & R17588 for service)

1шт.

32

70992

PIN

- drawbar bracket (70983 mt'g.)

1шт.

33

49869

PIN

- lock (70992 mt'g.)

1шт.

34

14-1072

BOLT,Hex, 5/8" - 18 x 4-1/2", Gr 5

HHCS - 5/8 - 18 NF x 4-1/2 (70983 mt'g.)

4шт.

35

92-10

LOCK WASHER,5/8"

WASHER, LOCK, 5/8"

4шт.

36

25-1110

NUT,5/8"-18, G5

- reg. SF hex. (5/8 - 18 NF)

4шт.

Выбрано товаров: 40