burger
mini logo mini logo

Качественные детали и логистика

zakaz@partsell.ru 8 (800) 777-65-74
  • Написать в whatsapp
  • Каталог
  • Справочники
  • Сервисным и ремонтным
    организациям
  • Поставщикам запчастей
  • Контакты
Заказать запчасти ()

Оригинальные и аналоговые запчасти с доставкой по России, Казахстану и Беларуси

©2022 PartSell
ООО "Система"
ИНН 2463123282
ОГРН 1212400004838


Центральный офис: г. Красноярск, Академика Киренского, д.87, пом.4

Телефон: 8 (800) 777-65-74
Email: zakaz@partsell.ru

8 (800) 777-65-74 zakaz@partsell.ru
Главная
/
Справочники
/
Case
/
Строительно-дорожная техника
/
Бульдозеры гусеничные
/
TERRATRAC
/
(1000C) - CASE TERRATRAC CRAWLER TRACTOR (S/N 7103001 & AFTER) (1/59-12/63)
/
(07) - HYDRAULIC SYSTEM
/

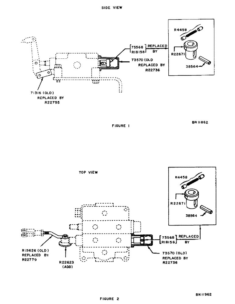
(001D) - SIDE VIEW, TOP VIEW

Запчасти Case 1000C (001D) - SIDE VIEW, TOP VIEW (07) - HYDRAULIC SYSTEM

Схема запчастей Case 1000C - (001D) - SIDE VIEW, TOP VIEW (07) - HYDRAULIC SYSTEM
FIT
1:1
100%